×
Buy Suzuki GS Parts Online
home
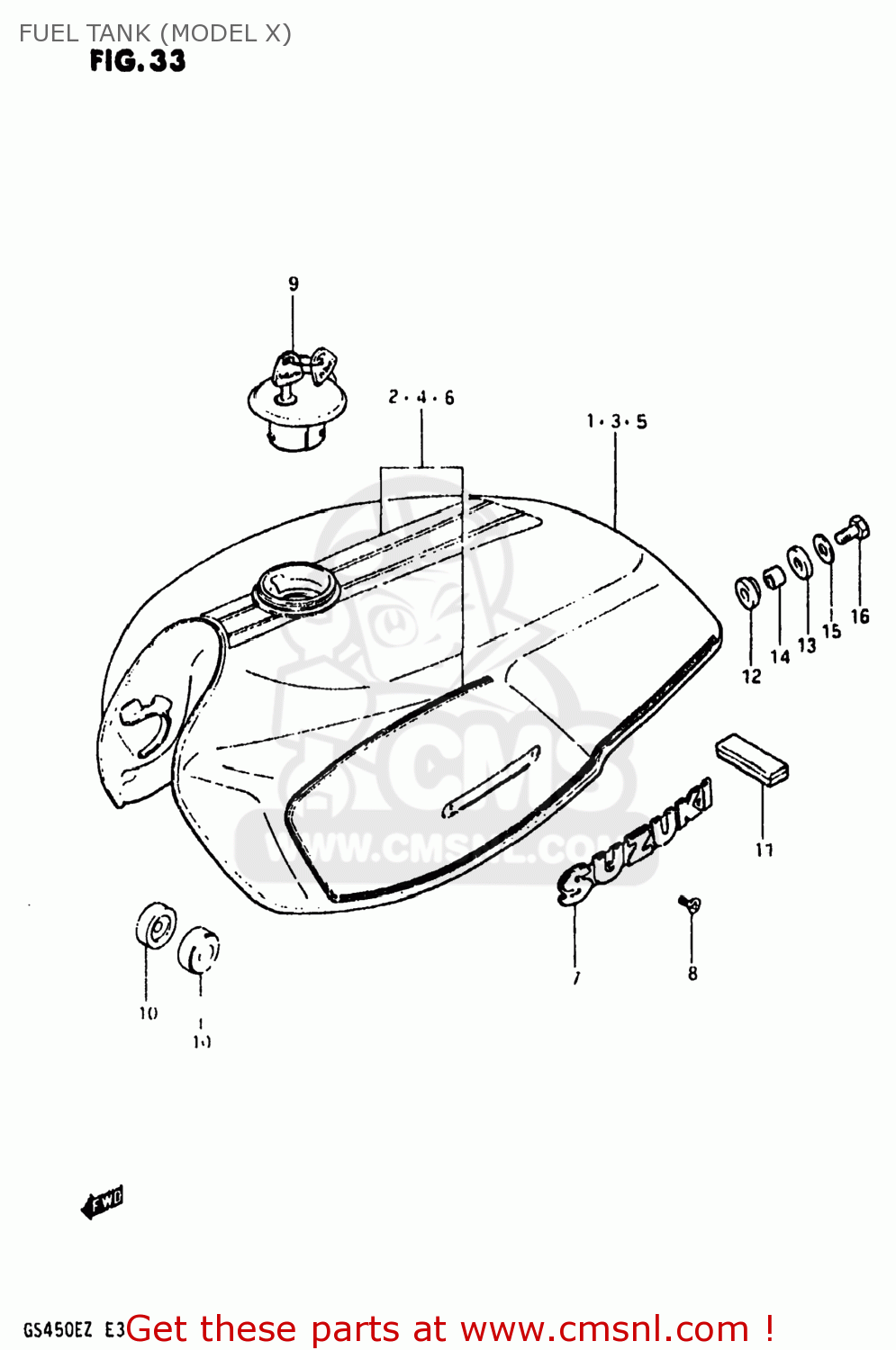
FUEL TANK (MODEL X)
GS450EZ 1981 (X) USA (E03)
Fuel tank (model x) diagram GS450EZ 1981 (X) USA (E03)
FUEL TANK (MODEL X) GS450EZ 1981 (X) USA (E03)
×
prices are in EUR
ref
part #
description
quantity
1
4410044150737
ref: 1
44110-44101-13L
TANK ASSEMBLY,FUEL
€ 577.00
2
681104415075G
ref: 2
TAPE SET,FUEL TANK
€ 21.00
3
441004415010S
ref: 3
44110-44101-13L
TANK ASSEMBLY,FUEL
€ 577.00
4
681104415075F
ref: 4
TAPE SET,FUEL TANK
€ 21.00
5
4410044150019
ref: 5
44110-44101-13L
TANK ASSEMBLY,FUEL
€ 577.00
6
681104415075F
ref: 6
TAPE SET,FUEL TANK
€ 21.00
7
6811145010
ref: 7
EMBLEM,FUEL TANK
€ 28.50
8
0213203065
ref: 8
02122-0306B
SCREW 3X6
€ 2.00
9
4420030703
ref: 9
44200-30830
CAP SET,FUEL TANK
€ 122.00
10
0932910007
ref: 10
CUSHION
€ 3.50
11
0932901005
ref: 11
CUSHION
€ 12.50
12
0932012010
ref: 12
09320-12013
CUSHION
€ 3.50
13
0932012023
ref: 13
09320-12017
CUSHION
€ 3.00
14
0918008067
ref: 14
SPACER(8.5X12X19)
€ 3.00
15
0916008002
ref: 15
09160-08135
WASHER (8.5X29X1.6)
€ 2.00
16
0110708308
ref: 16
01500-08307
BOLT (8X30)
€ 3.00
up
all assemblies
AIR CLEANER
BATTERY
CAM CHAIN
CAM SHAFT - VALVE
CARBURETOR
CHAIN CASE - SHOCK ABSORBER
CLUTCH
COWLING
COWLING (GS450ST/SX)
CRANKCASE
CRANKCASE COVER
CRANKSHAFT
CRANKSHAFT BALANCER
CYLINDER
CYLINDER HEAD
CYLINDER HEAD COVER (E.NO.162953~)
CYLINDER HEAD COVER (~E.NO.162952)
ELECTRICAL
FOOTREST
FRAME
FRAME COVER (MODEL T)
FRAME COVER (MODEL X)
FRAME COVER (MODEL Z)
FRONT BRAKE HOSE
FRONT CALIPERS
FRONT FORK (MODEL T
FRONT FORK (MODEL Z)
FRONT MASTER CYLINDER
FRONT WHEEL
FUEL COCK
FUEL TANK (MODEL T)
FUEL TANK (MODEL X)
FUEL TANK (MODEL Z)
GEAR SHIFTING
GENERATOR
HANDLEBAR (GS450ET
HANDLEBAR (GS450ST
HEADLAMP
HEADLAMP HOUSING - FRONT FENDER
LEFT HANDLE SWITCH (GS450ET
LEFT HANDLE SWITCH (GS450EZ)
LEFT HANDLE SWITCH (GS450ST
MUFFLER
OIL FILTER - OIL PUMP
REAR CONBINATION LAMP
REAR FENDER
REAR SWINGING ARM
REAR WHEEL
RIGHT HANDLE SWITCH (GS450ET
RIGHT HANDLE SWITCH (GS450EZ)
RIGHT HANDLE SWITCH (GS450ST
SEAT (MODEL T)
SEAT (MODEL X)
SEAT (MODEL Z)
SEAT TAIL COVER (MODEL T)
SEAT TAIL COVER (MODEL X)
SEAT TAIL COVER (MODEL Z)
SIGNAL GENERATOR
SPEEDOMETER - TACHOMETER
STAND - REAR BRAKE
STARTER CLUTCH
STARTING MOTOR
STEERING STEM (MODEL T
STEERING STEM (MODEL Z)
TRANSMISSION
TURN SIGNAL LAMP
WIRING HARNESS
up