Buy Suzuki unknown Parts Online

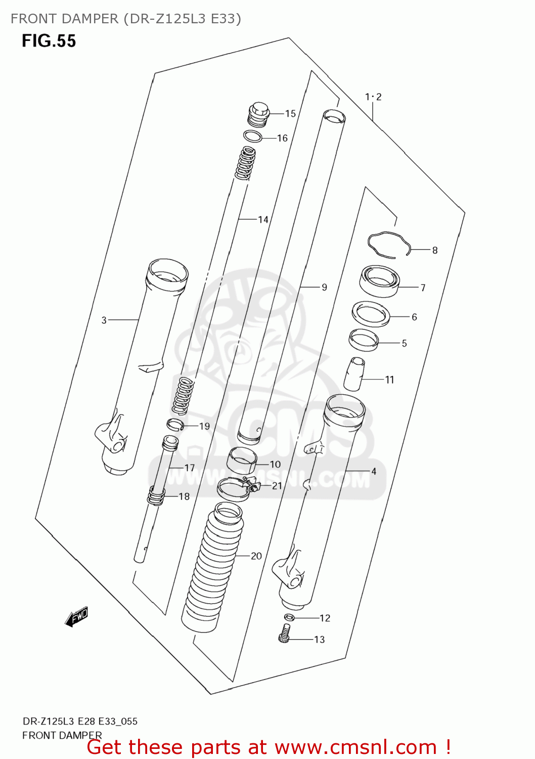
FRONT DAMPER (DR-Z125L3 E33)

DR-Z125 2013 (L3) USA (E03) DRZ125 DR Z125

Front damper (dr-z125l3 e33) diagram DR-Z125 2013 (L3) USA (E03) DRZ125 DR Z125

FRONT DAMPER (DR-Z125L3 E33) DR-Z125 2013 (L3) USA (E03) DRZ125 DR Z125
FRONT DAMPER (DR-Z125L3 E33) DR-Z125 2013 (L3) USA (E03) DRZ125 DR Z125
FRONT DAMPER (DR-Z125L3 E33) DR-Z125 2013 (L3) USA (E03) DRZ125 DR Z125
prices are in EUR
ref
part #
description
quantity
1
5110308G40
ref: 1
DAMPER ASSY,FR FORK,R
€ 351.50

2
5110408G40
ref: 2
DAMPER ASSY,FR FORK,L
€ 351.50

3
5113008G00
ref: 3
TUBE,OUTER,R
€ 180.00

4
5114008G00
ref: 4
TUBE,OUTER,L
€ 180.00

5
5115243EC0
ref: 5
BUSH,GUIDE
€ 9.50

6
5116843EC0
ref: 6
SPACER,SEAL
€ 6.50

7
5115348420
ref: 7
SEAL,OIL
5115348420
€ 12.00

8
5115648730
ref: 8
SEAL,OIL STOPPER RING
5115648730
€ 3.00

9
5111008G00
ref: 9
TUBE,INNER
€ 151.00

10
5112108G00
ref: 10
BUSH,SLIDE
€ 13.00

11
5119548000
ref: 11
PIECE,OIL LOCK
5119548000
€ 9.50

12
5114836011
ref: 12
GASKET (NAS)
5114836011
€ 4.50

13
5114748130
ref: 13
BOLT(8X27)
5114748130
€ 4.00

14
5117108G00
ref: 14
SPRING,FR
€ 31.00

15
5135148000
ref: 15
BOLT
5135148000
€ 12.00

16
5118125030
ref: 16
O RING
5118125030
€ 3.50

17
5114608G00
ref: 17
CYLINDER
€ 28.50

18
5117708G00
ref: 18
SPRING,REBOUND
€ 6.00

19
5119648000
ref: 19
RING
€ 5.50

20
5157108G40
ref: 20
BOOT
€ 27.50

21
5157508G00
ref: 21
BAND
€ 5.50

all assemblies