×
Buy Suzuki DR Parts Online
home
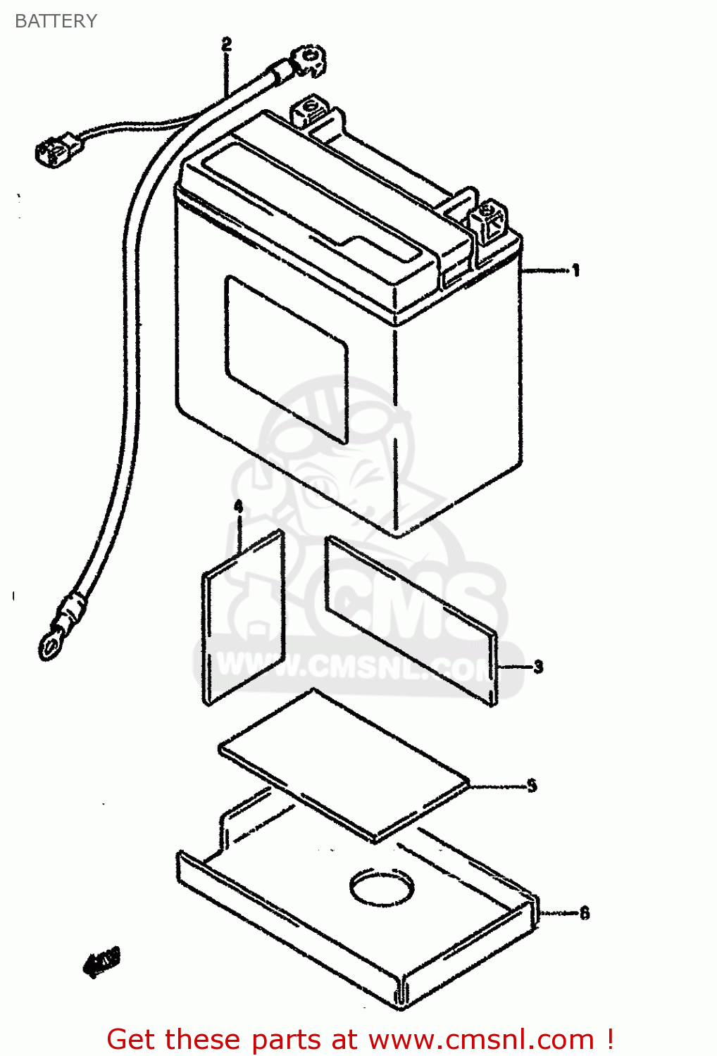
BATTERY
DR650RSE 1996 (T) (E04 E18 E22 E34 E37)
Battery diagram DR650RSE 1996 (T) (E04 E18 E22 E34 E37)
BATTERY DR650RSE 1996 (T) (E04 E18 E22 E34 E37)
×
prices are in EUR
ref
part #
description
quantity
1-1
3361026D10
ref: 1-1
BATTERY ASSY (12V) YTX14-BS
€ 116.50
1-2
3361026D00
ref: 1-2
MODEL M/N:E24
BATTERY ASSY (YTX14-BS,12V12AH)
€ 116.50
2
3386012D00
ref: 2
LEAD WIRE,BATTERY (-)
€ 17.50
3
3365229100
ref: 3
-33651-37000
PROTECTOR,20X9
€ 5.50
4
3365208410
ref: 4
-33651-37000
PROTECTOR,BATTERY
€ 5.50
5
3365137000
ref: 5
CUT 60X130
PROTECTOR(170X95X3.0)
€ 5.50
6
3365212D00
ref: 6
PROTECTOR,BATTERY
€ 13.00
up
all assemblies
* CATALOG PREFACE *
* CONVERSION CHART *
CYLINDER HEAD
CYLINDER
CRANKCASE
CRANKCASE COVER
CRANKSHAFT
STARTER CLUTCH
CRANK BALANCER (MODEL P/R/S/T)
BALANCER CHAIN
CAM SHAFT-VALVE
CAM CHAIN
CARBURETOR (MODEL T)
AIR CLEANER
MUFFLER
OIL PUMP
OIL COOLER
SECOND AIR (E18,E39)
CLUTCH (MODEL R/S/T)
TRANSMISSION
GEAR SHIFTING
STARTING MOTOR
MAGNETO
BATTERY
ELECTRICAL
SPEED/TACHOMETER (MODEL S/T)
HEADLAMP (MODEL S/T)
TURNSIGNAL LAMP
REAR COMBINATION LAMP (MODEL T)
WIRING HARNESS
HANDLE SWITCH (MODEL T)
FRAME
STAND-REAR BRAKE
FOOTREST
CARRIER
FUEL TANK (MODEL T)
FUEL COCK
FRAME COVER (MODEL T)
FRONT FENDER (MODEL T)
HANDLEBAR (MODEL N/P/R/S/T)
RIGHT HANDLE LEVER (MODEL N/P/R/S/T)
LEFT HANDLE LEVER
REAR FENDER (MODEL T)
COWLING-LABEL (MODEL T)
SEAT (MODEL S/T)
FRONT FORK
STEERING STEM
FRONT WHEEL
FRONT CALIPER
FRONT BRAKE HOSE
FRONT MASTER CYLINDER
REAR SWINGING ARM
REAR CUSHION LEVER
REAR WHEEL
REAR CALIPER
REAR MASTER CYLINDER
OPTIONAL
up