×
Buy Suzuki DR Parts Online
home
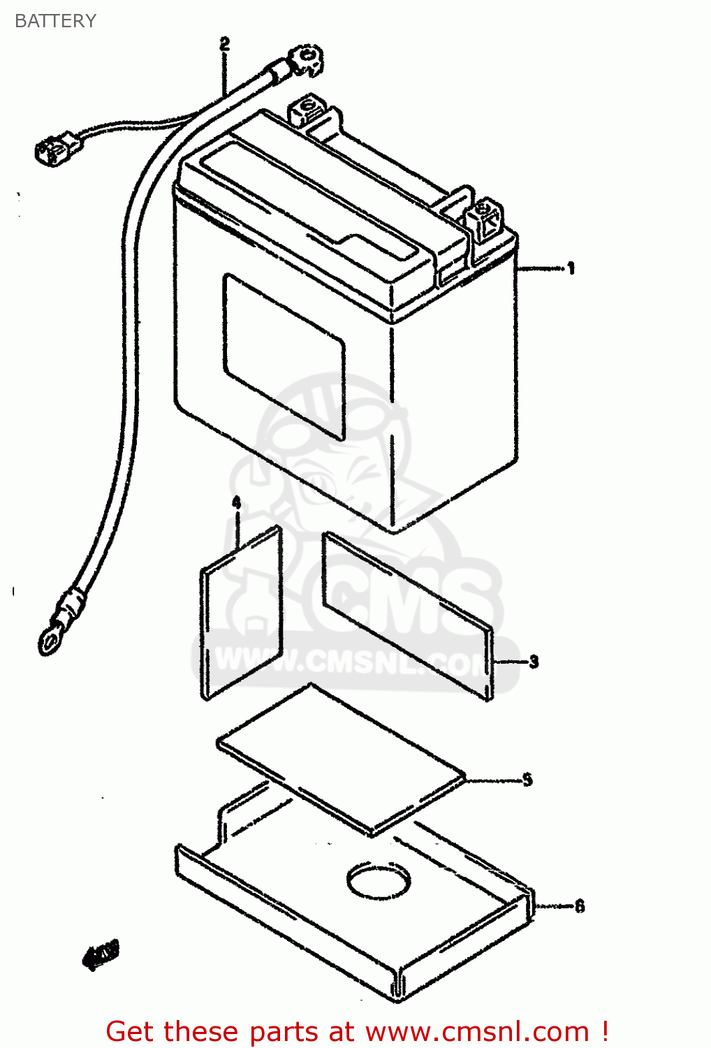
BATTERY
DR650RSEU 1992 (N) GERMANY (E22)
Battery diagram DR650RSEU 1992 (N) GERMANY (E22)
BATTERY DR650RSEU 1992 (N) GERMANY (E22)
×
prices are in EUR
ref
part #
description
quantity
1-1
3361026D10
ref: 1-1
BATTERY ASSY (12V) YTX14-BS
€ 116.50
1-2
3361026D00
ref: 1-2
MODEL M/N:E24
BATTERY ASSY (YTX14-BS,12V12AH)
€ 116.50
2
3386012D00
ref: 2
LEAD WIRE,BATTERY (-)
€ 17.50
3
3365229100
ref: 3
-33651-37000
PROTECTOR,20X9
€ 5.50
4
3365208410
ref: 4
-33651-37000
PROTECTOR,BATTERY
€ 5.50
5
3365137000
ref: 5
CUT 60X130
PROTECTOR(170X95X3.0)
€ 5.50
6
3365212D00
ref: 6
PROTECTOR,BATTERY
€ 13.00
up
all assemblies
* CATALOG PREFACE *
* CONVERSION CHART *
CYLINDER HEAD
CYLINDER
CRANKCASE
CRANKCASE COVER
CRANKSHAFT
STARTER CLUTCH
CRANK BALANCER (MODEL P/R/S/T)
BALANCER CHAIN
CAM SHAFT-VALVE
CAM CHAIN
CARBURETOR (MODEL T)
AIR CLEANER
MUFFLER
OIL PUMP
OIL COOLER
SECOND AIR (E18,E39)
CLUTCH (MODEL R/S/T)
TRANSMISSION
GEAR SHIFTING
STARTING MOTOR
MAGNETO
BATTERY
ELECTRICAL
SPEED/TACHOMETER (MODEL S/T)
HEADLAMP (MODEL S/T)
TURNSIGNAL LAMP
REAR COMBINATION LAMP (MODEL T)
WIRING HARNESS
HANDLE SWITCH (MODEL T)
FRAME
STAND-REAR BRAKE
FOOTREST
CARRIER
FUEL TANK (MODEL T)
FUEL COCK
FRAME COVER (MODEL T)
FRONT FENDER (MODEL T)
HANDLEBAR (MODEL N/P/R/S/T)
RIGHT HANDLE LEVER (MODEL N/P/R/S/T)
LEFT HANDLE LEVER
REAR FENDER (MODEL T)
COWLING-LABEL (MODEL T)
SEAT (MODEL S/T)
FRONT FORK
STEERING STEM
FRONT WHEEL
FRONT CALIPER
FRONT BRAKE HOSE
FRONT MASTER CYLINDER
REAR SWINGING ARM
REAR CUSHION LEVER
REAR WHEEL
REAR CALIPER
REAR MASTER CYLINDER
OPTIONAL
up