×
Buy Suzuki GN Parts Online
home
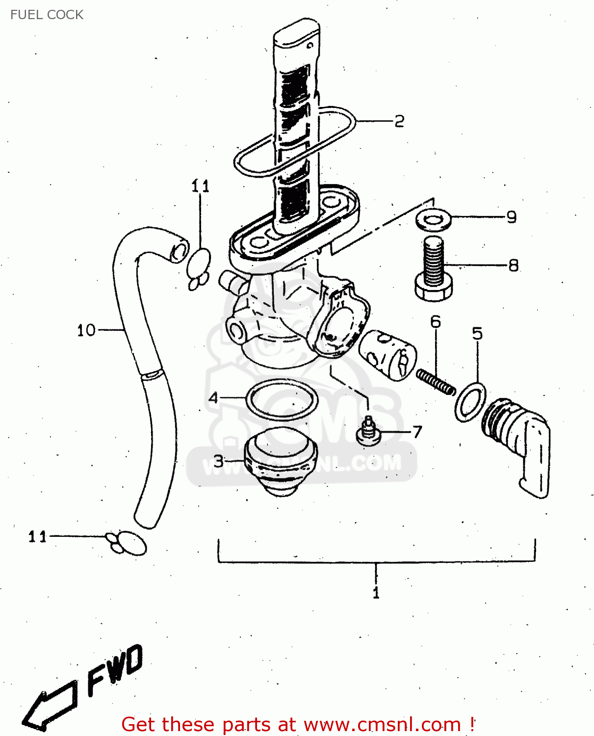
FUEL COCK
GN125 1997 (V) (E01 E02 E04 E18 E21 E22)
Fuel cock diagram GN125 1997 (V) (E01 E02 E04 E18 E21 E22)
FUEL COCK GN125 1997 (V) (E01 E02 E04 E18 E21 E22)
×
prices are in EUR
ref
part #
description
quantity
1
4430022075
ref: 1
MODEL V/W
COCK ASSEMBLY,FUEL
€ 71.00
1
4430022080
ref: 1
MODEL X
COCK ASSY,FUEL
€ 64.00
2
4434828070
ref: 2
O RING,FUEL COCK
€ 5.00
3
4434728071
ref: 3
CUP,STRAINER
€ 8.50
4
4434628070
ref: 4
GASKET,FILTER (NAS)
€ 3.00
5
4435312C01
ref: 5
O RING,LEVER
€ 8.50
6
4435732470
ref: 6
SPRING
€ 2.00
7
4434341370
ref: 7
SCREW
€ 2.00
8
0912806057
ref: 8
BOLT(6X20)
€ 2.00
9
0916806026
ref: 9
GASKET(6.4X11.5X0.8) (NAS)
€ 3.50
10
0935250823600
ref: 10
HOSE(5X8.2X600)
€ 14.00
11
0940108401
ref: 11
CLIP
€ 2.00
up
all assemblies
* COLOR CHART *
* CATALOG PREFACE *
* CONVERSION CHART *
CYLINDER HEAD
AIR CLEANER
MUFFLER
OIL PUMP
CLUTCH
TRANSMISSION
GEAR SHIFTING
STARTING MOTOR
MAGNETO
BATTERY
ELECTRICAL
CYLINDER
SPEEDOMETER - TACHOMETER (GN125V/W/X)
SPEEDOMETER - TACHOMETER (GN125EV/EW/EX)
HEADLAMP (E2,E71,P9)
HEADLAMP (E4,E18,E21,E22)
HEADLAMP (GN125E E1,E30)
TURN SIGNAL LAMP (E1,E2,E4,E18,E21,E22,E71,P9)
TURN SIGNAL LAMP (GN125E E1,E30)
REAR COMBINATION LAMP (E1,E71,P9)
REAR COMBINATION LAMP (E2,E4,E21)
REAR COMBINATION LAMP (E18,E22)
REAR COMBINATION (GN125E E1,E30)
WIRING HARNESS (GN125V/W/X)
WIRING HARNESS (GN125EV/EW/EX)
HANDLE SWITCH
FRAME
STAND
FOOTREST
CARRIER
CRANKCASE
FUEL TANK (MODEL V/W)
FUEL TANK (MODEL X)
FUEL COCK
FRAME COVER (MODEL V/W)
FRAME COVER (MODEL X)
FRONT FENDER - HEADLAMP HOUSING
HANDLEBAR - FRONT CABLE
HANDLE LEVER
REAR FENDER
SEAT
FRONT DAMPER
STEERING STEM
CRANKCASE COVER
FRONT WHEEL (GN125V/W/X)
FRONT WHEEL (GN125EV/EW/EX)
FRONT CALIPER
FRONT MASTER CYLINDER
REAR SWINGING ARM
REAR SHOCK ABSOBER
REAR WHEEL (GN125V/W/X)
REAR WHEEL (GN125EV/EW/EX)
OPTIONAL
CRANKSHAFT
STARTER CLUTCH
CAM SHAFT - VALVE
CAM CHAIN
CARBURETOR
up