×
Buy Suzuki RM Parts Online
home
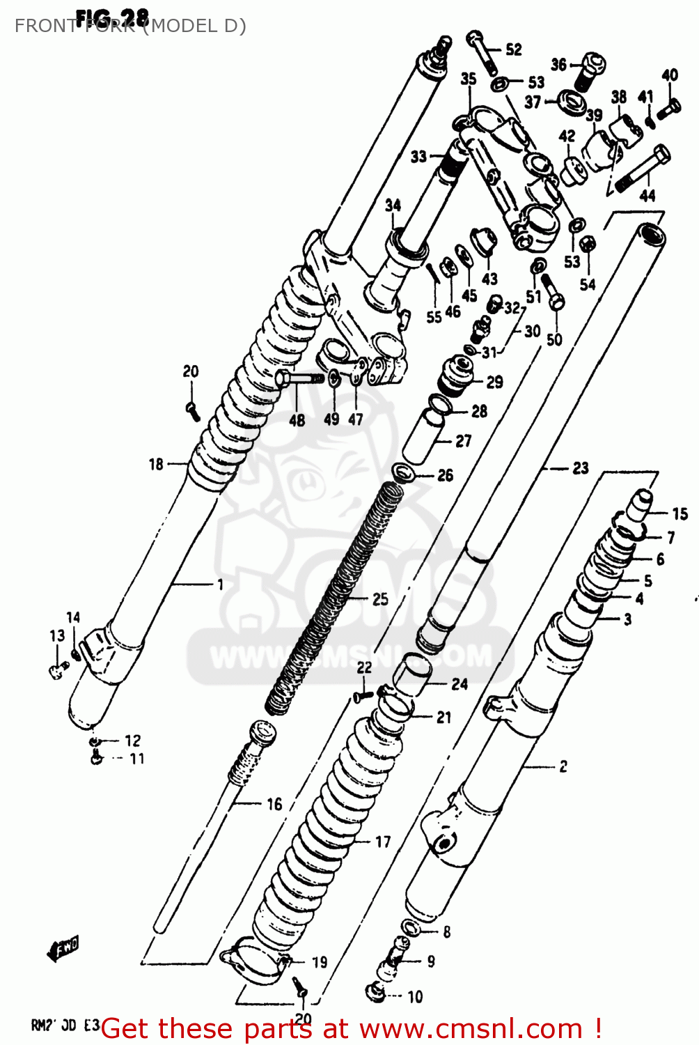
FRONT FORK (MODEL D)
RM250 1982 (Z) USA (E03)
Front fork (model d) diagram RM250 1982 (Z) USA (E03)
FRONT FORK (MODEL D) RM250 1982 (Z) USA (E03)
×
prices are in EUR
ref
part #
description
quantity
0
5110014330163
ref: 0
DAMPER SET
€ 0.00
1
5113014330163
ref: 1
TUBE,OUTER,RIGHT
€ 0.00
2
5114014330163
ref: 2
TUBE,OUTER,LEFT
€ 230.00
3
5116714200
ref: 3
51167-40C00
METAL,SLIDE
€ 15.00
4
5115814200
ref: 4
WASHER
€ 5.00
5
5115314330
ref: 5
SEAL,OIL
€ 12.00
6
5117314330
ref: 6
SEAL,DUST
€ 10.50
7
5115614200
ref: 7
RING,STOPPER
€ 5.00
8
5114814330
ref: 8
GASKET,FORK CYLINDER
€ 2.50
9
5177014330
ref: 9
VALVE,DF
€ 28.50
10
5118914330
ref: 10
CAP,FRONT FORK DF
€ 9.00
11
0211204068
ref: 11
02112-0406B
SCREW 4X6
€ 2.00
12
5118303010
ref: 12
GASKET,DRAIN,PLUG (NAS)
€ 3.00
13
0110708308
ref: 13
01500-08307
BOLT (8X30)
€ 3.00
14
0832131088
ref: 14
08321-01087
WASHER,LOCK,8.
€ 2.50
15
5119514330
ref: 15
PIECE,FRONT FORK OIL LOCK
€ 10.50
16
5114614330
ref: 16
CYLINDER,FRONT FORK
€ 70.00
17
5157114200
ref: 17
BOOT,FRONT FORK COVER
€ 44.00
18
5157514330
ref: 18
51574-14330
BAND,BOOT,UPPER
€ 13.50
19
5157414330
ref: 19
BAND,FRONT FORK BOOT
€ 13.50
20
0211204168
ref: 20
02112-0416A
SCREW
€ 1.00
21
5157514200
ref: 21
BAND,FRONT FORK BOOT
€ 5.50
22
0211204108
ref: 22
02112-04107
SCREW 4X10
€ 3.00
23
5111014330
ref: 23
TUBE,INNER
€ 183.50
24
5112114200
ref: 24
PISTON
€ 14.00
25
5117114330
ref: 25
SPRING,FRONT FORK
€ 0.00
26
5117214200
ref: 26
GUIDE,SPRING
€ 5.00
27
5117614260
ref: 27
SPACER,FRONT FORK SPRING
€ 4.50
28
5111714200
ref: 28
O RING
€ 2.00
29
5135114330
ref: 29
CAP,FORK INNER TUBE
€ 28.00
30
5116914140
ref: 30
VALVE,FRONT FORK AIR
€ 12.00
31
5111714210
ref: 31
09280-06005
O-RING
€ 2.50
32
5129440400
ref: 32
CAP,VALVE AIR
€ 4.50
33
5141014330291
ref: 33
STEM,STEERING
€ 0.00
34
0926530005
ref: 34
09265-30009
BEARING
€ 53.50
35
5131114330291
ref: 35
HEAD,STEERING STEM
€ 106.50
36
5135141320
ref: 36
BOLT
€ 8.50
37
5135641310
ref: 37
WASHER
€ 6.00
38
5621127200291
ref: 38
HOLDER,HANDLE UPR
€ 15.00
39
5622114330291
ref: 39
HOLDER,HANDLE LWR
€ 28.00
40
0110708358
ref: 40
01500-0835B
BOLT
€ 3.50
41
0832131088
ref: 41
08321-01087
WASHER,LOCK,8.
€ 2.50
42
5624114200
ref: 42
DAMPER,UPR
€ 35.00
43
5624214200
ref: 43
DAMPER,LWR
€ 23.00
44
5132114200
ref: 44
56321-28C00
BOLT,HANDLE HOLDER
€ 7.00
45
5135640400
ref: 45
09160-10035
WASHER,HANDLEBAR HOLDER
€ 2.00
46
0915910027
ref: 46
NUT
€ 3.50
47
5862114200
ref: 47
GUIDE,CABLE
€ 4.00
48
0110708408
ref: 48
01500-0840A
BOLT 8X40
€ 3.50
49
0832131088
ref: 49
08321-01087
WASHER,LOCK,8.
€ 2.50
50
0110710458
ref: 50
01500-1045A
BOLT
€ 2.50
51
0832131088
ref: 51
08321-01087
WASHER,LOCK,8.
€ 2.50
52
0110708508
ref: 52
01500-08507
BOLT 8X50
€ 3.00
53
0832221088
ref: 53
08322-01087
WASHER
€ 2.50
54
0831012088
ref: 54
08310-00087
NUT
€ 2.50
55
0411120208
ref: 55
04111-2020A
PIN 20X20
€ 1.50
up
all assemblies
AIR CLEANER
CARBURETOR
CHAIN GUIDE
CLUTCH
CRANKCASE
CRANKCASE COVER
CRANKSHAFT
CUSHION LEVER (MODEL D)
CUSHION LEVER (MODEL Z)
CYLINDER
ELECTRICAL
FRAME - SEAT
FRAME COVER (MODEL D)
FRAME COVER (MODEL Z)
FRONT FENDER
FRONT FORK (MODEL D)
FRONT FORK (MODEL Z)
FRONT WHEEL (MODEL D)
FRONT WHEEL (MODEL Z)
FUEL COCK
FUEL TANK (MODEL D)
FUEL TANK (MODEL Z)
GEAR SHIFTING (MODEL D)
GEAR SHIFTING (MODEL Z)
HANDLEBAR
KICK STARTER
LEFT HANDLE GRIP
MAGNETO
MUFFLER
OPTIONAL (MODEL Z)
RADIATOR
REAR BRAKE (MODEL D)
REAR BRAKE (MODEL Z)
REAR FENDER
REAR SWINGING ARM (MODEL D)
REAR SWINGING ARM (MODEL Z)
REAR WHEEL (MODEL D)
REAR WHEEL (MODEL Z)
RIGHT HANDLE SWITCH
SHOCK ABSORBER (MODEL D)
SHOCK ABSORBER (MODEL Z)
STAND - FOOTREST
TRANSMISSION (MODEL D)
TRANSMISSION (MODEL Z)
WATER PUMP
up