Buy Suzuki DR Parts Online

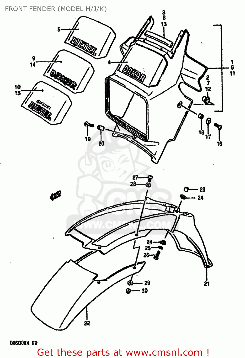
FRONT FENDER (MODEL H/J/K)

DR600R 1987 (H) (E02 E04 E06 E15 E16 E17 E18 E22 E24 E25 E34 E53

Front fender (model h/j/k) diagram DR600R 1987 (H) (E02 E04 E06 E15 E16 E17 E18 E22 E24 E25 E34 E53

FRONT FENDER (MODEL H/J/K) DR600R 1987 (H) (E02 E04 E06 E15 E16 E17 E18 E22 E24 E25 E34 E53
FRONT FENDER (MODEL H/J/K) DR600R 1987 (H) (E02 E04 E06 E15 E16 E17 E18 E22 E24 E25 E34 E53
FRONT FENDER (MODEL H/J/K) DR600R 1987 (H) (E02 E04 E06 E15 E16 E17 E18 E22 E24 E25 E34 E53
prices are in EUR
ref
part #
description
quantity
1-1
5180015A2014L
ref: 1-1

MODEL H
COVER, HEADLAMP (WHITE)
5180015A2014L
€ 121.00

1-2
5180015A0014L
ref: 1-2

MODEL H E4,E34,E53
COVER,HEADLAMP (WHITE)
€ 121.00

2
5182115A0014L
ref: 2

MODEL H
BUSH, SIDE (WHITE)
5182115A0014L
€ 4.50

3
5182715A00
ref: 3

MODEL H
CUSHION,HEADLAMP COVER
5182715A00
€ 8.00

4
6825014A409LJ
ref: 4

MODEL H
TAPE, HEADLAMP COVER
€ 20.00

5
6825014A509LR
ref: 5

MODEL H E4,E34,E53
TAPE,HEADLAMP COVER
6825014A509LR
€ 22.50

6-1
5180015A4014L
ref: 6-1

MODEL J
COVER,HEADLAMP (WHITE)
€ 121.00

6-2
5180015A3014L
ref: 6-2

MODEL J E4,E34,E53
COVER,HEADLAMP (WHITE)
€ 121.00

7
5182115A0014L
ref: 7

MODEL J
BUSH, SIDE (WHITE)
5182115A0014L
€ 4.50

8
5182715A00
ref: 8

MODEL J
CUSHION,HEADLAMP COVER
5182715A00
€ 8.00

9
6872514A109PL
ref: 9

MODEL J
TAPE,HEADLAMP COVER
€ 23.50

10
6872514A009PL
ref: 10

MODEL J E4,E34,E53
TAPE,HEADLAMP COVER
6872514A009PL
€ 22.50

11-1
5180015A6030H
ref: 11-1

MODEL K
HOUSING ASSEMBLY,HEADLAMP
€ 121.00

11-2
5180015A5030H
ref: 11-2

MODEL K E4,E34,E53
COVER,HEADLAMP (WHITE)
€ 121.00

12
5182115A0030H
ref: 12

MODEL K
BUSHING,HEADLAMP COVER,SIDE
5182115A0030H
€ 4.50

13
5182715A00
ref: 13

MODEL K
CUSHION,HEADLAMP COVER
5182715A00
€ 8.00

14
6872514A309PK
ref: 14

MODEL K
TAPE,HEADLAMP COVER
€ 21.00

15
6872514A209PK
ref: 15

MODEL K E4,E34,E53
TAPE,HEADLAMP COVER
€ 22.50

16-1
0214206164
ref: 16-1

MODEL H/J
SCREW
0214206164
€ 3.00

16-2
0913606061
ref: 16-2

MODEL K
SCREW(6X16)
0913606061
€ 3.50

17
0916006069
ref: 17
WASHER
0916006069
€ 2.50

18
0918006152
ref: 18
SPACER
0918006152
€ 3.50

19
0214206405
ref: 19
SCREW, LOWER
€ 2.00

20
0918006170
ref: 20
SPACER (6.1X9X31.5)
0918006170
€ 4.50

21-1
5311115A0014L
ref: 21-1

MODEL H/J
FENDER, FRONT REAR (WHITE)
5311115A0014L
€ 73.00

21-2
5311115A0030H
ref: 21-2

MODEL K
FENDER, FRONT REAR (WHITE)
€ 73.00

22
5311215A0033N
ref: 22
FENDER, FRONT (BLUE)
€ 38.00

23
0918006038
ref: 23
SPACER(6.1X9X7.5)
0918006038
€ 2.00

24
0916906053
ref: 24
WASHER
0916906053
€ 2.50

25
0832121067
ref: 25
WASHER,LOCK
0832121067
€ 2.50

26
0110706257
ref: 26
BOLT
€ 2.50

27-1
0214206164
ref: 27-1

MODEL H/J
SCREW
0214206164
€ 3.00

27-2
0913606062
ref: 27-2

MODEL K
SCREW (6X16)
0913606062
€ 3.00

28
0916006039
ref: 28
WASHER (6.5X18X1.6)
0916006039
€ 2.00

29
0916006003
ref: 29
WASHER (6.7X16X1.8)
€ 2.00

30
0831931065
ref: 30
NUT
0831931065
€ 2.50