Buy Suzuki GSX Parts Online

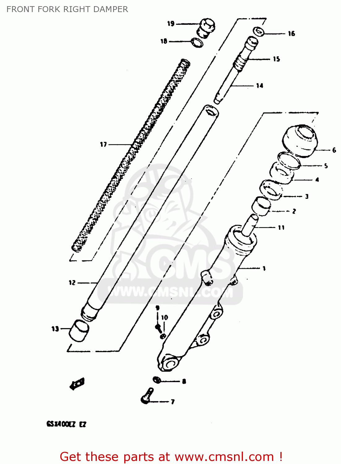
FRONT FORK RIGHT DAMPER

GSX400E 1982 (Z) (E02 E04 E16 E17 E22 E24 E26)

Front fork right damper diagram GSX400E 1982 (Z) (E02 E04 E16 E17 E22 E24 E26)

FRONT FORK RIGHT DAMPER GSX400E 1982 (Z) (E02 E04 E16 E17 E22 E24 E26)
FRONT FORK RIGHT DAMPER GSX400E 1982 (Z) (E02 E04 E16 E17 E22 E24 E26)
FRONT FORK RIGHT DAMPER GSX400E 1982 (Z) (E02 E04 E16 E17 E22 E24 E26)
prices are in EUR
ref
part #
description
quantity
0
5110344420
ref: 0
DUMPER ASSY, RH
€ 406.00

1
5113011500
ref: 1
OUTER TUBE RH
5113011500
€ 205.50

2
5115211420
ref: 2
BUSH,GUIDE
5115211420
€ 18.50

3
5116844030
ref: 3
SPACER,OIL SEAL
5116844030
€ 5.50

4
5115337310
ref: 4
OIL SEAL,FRONT FORK
5115337310
€ 16.00

5
5115633130
ref: 5
CIRCLIP,FORK OIL SEAL
5115633130
€ 5.00

6
5157137310
ref: 6
DUST SEAL
5157137310
€ 24.00

7
5114748130
ref: 7
BOLT(8X27)
5114748130
€ 4.00

8
5114831030
ref: 8
GASKET (NAS)
5114831030
€ 4.50

9
0110706088
ref: 9
BOLT
€ 3.00

10
5118331030
ref: 10
GASKET,DRAIN,PLUG (NAS)
5118331030
€ 5.00

11
5119548000
ref: 11
PIECE,OIL LOCK
5119548000
€ 9.50

12
5111011420
ref: 12
TUBE,INNER
5111011420
€ 192.50

13
5112111420
ref: 13
BUSH
5112111420
€ 18.50

14
5114644110
ref: 14
CYLINDER,FRONT FORK
€ 42.00

15
5117711420
ref: 15
SPRING,REBOUND
5117711420
€ 4.50

16
5119633130
ref: 16
RING,PISTON
5119633130
€ 8.50

17
5117111420
ref: 17
SPRING,FR.FORK
€ 43.50

18
5118131030
ref: 18
O RING
5118131030
€ 4.00

19
5135133130
ref: 19
BOLT
5135133130
€ 30.50