Buy Suzuki GSX Parts Online

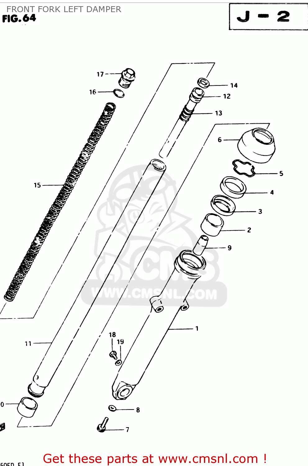
FRONT FORK LEFT DAMPER

GSX250ES 1983 (D) GENERAL EXPORT (E01)

Front fork left damper diagram GSX250ES 1983 (D) GENERAL EXPORT (E01)

FRONT FORK LEFT DAMPER GSX250ES 1983 (D) GENERAL EXPORT (E01)
FRONT FORK LEFT DAMPER GSX250ES 1983 (D) GENERAL EXPORT (E01)
FRONT FORK LEFT DAMPER GSX250ES 1983 (D) GENERAL EXPORT (E01)
prices are in EUR
ref
part #
description
quantity
0
5110311500
ref: 0
DAMPER ASSY, RH
5110311500
€ 252.50

1
5113011500
ref: 1
OUTER TUBE RH
5113011500
€ 205.50

2
5115211420
ref: 2
BUSH,GUIDE
5115211420
€ 18.50

3
5116844030
ref: 3
SPACER,OIL SEAL
5116844030
€ 5.50

4
5115337310
ref: 4
OIL SEAL,FRONT FORK
5115337310
€ 16.00

5
5115633130
ref: 5
CIRCLIP,FORK OIL SEAL
5115633130
€ 5.00

6
5157137310
ref: 6
DUST SEAL
5157137310
€ 24.00

7
5114748130
ref: 7
BOLT(8X27)
5114748130
€ 4.00

8
5114831030
ref: 8
GASKET (NAS)
5114831030
€ 4.50

9
5119548000
ref: 9
PIECE,OIL LOCK
5119548000
€ 9.50

10
5112111420
ref: 10
BUSH
5112111420
€ 18.50

11
5111011420
ref: 11
TUBE,INNER
5111011420
€ 192.50

12
5114644110
ref: 12
CYLINDER,FRONT FORK
€ 42.00

13
5117711420
ref: 13
SPRING,REBOUND
5117711420
€ 4.50

14
5119633130
ref: 14
RING,PISTON
5119633130
€ 8.50

15
5117111500
ref: 15
SPRING
5117111500
€ 43.50

16
5118131030
ref: 16
O RING
5118131030
€ 4.00

17
5135133130
ref: 17
BOLT
5135133130
€ 30.50

18
0110706088
ref: 18
BOLT
€ 3.00

19
5118331030
ref: 19
GASKET,DRAIN,PLUG (NAS)
5118331030
€ 5.00

0
5110411520
ref: 0
DAMPER ASSY, LH
€ 242.50

1
5114011500
ref: 1
OUTER TUBE LH
5114011500
€ 86.00

2
5115211420
ref: 2
BUSH,GUIDE
5115211420
€ 18.50

3
5116844030
ref: 3
SPACER,OIL SEAL
5116844030
€ 5.50

4
5115337310
ref: 4
OIL SEAL,FRONT FORK
5115337310
€ 16.00

5
5115811420
ref: 5
RING,BACKUP
5115811420
€ 4.00

6
5115611420
ref: 6
RING,OIL SEAL STOPPER
5115611420
€ 5.00

7
5157137310
ref: 7
DUST SEAL
5157137310
€ 24.00

8
5114748130
ref: 8
BOLT(8X27)
5114748130
€ 4.00

9
5114831030
ref: 9
GASKET (NAS)
5114831030
€ 4.50

10
5113244040291
ref: 10
HOLDER,AXLE
5113244040291
€ 38.50

11
0832221088
ref: 11
WASHER
0832221088
€ 2.50

12
0832121088
ref: 12
LOCK WASHER
0832121088
€ 2.50

13
0831012088
ref: 13
NUT
0831012088
€ 2.50

14
5112311420
ref: 14
RING, PISTON
5112311420
€ 2.50

15
5119511420
ref: 15
PIECE,OIL LOCK
5119511420
€ 18.50

16
5112511420
ref: 16
VALVE,OIL LOCK PIEACE
5112511420
€ 7.50

17
5112111420
ref: 17
BUSH
5112111420
€ 18.50

18
5112044420
ref: 18
TUBE,FORK INNER,L
5112044420
€ 168.00

19
5119411420
ref: 19
CYLINDER, LH
€ 0.00

20
5117711420
ref: 20
SPRING,REBOUND
5117711420
€ 4.50

21
5119633130
ref: 21
RING,PISTON
5119633130
€ 8.50

22
5117111500
ref: 22
SPRING
5117111500
€ 43.50

23
5118131030
ref: 23
O RING
5118131030
€ 4.00

24
5135133130
ref: 24
BOLT
5135133130
€ 30.50

25
0110706088
ref: 25
BOLT
€ 3.00

26
5118331030
ref: 26
GASKET,DRAIN,PLUG (NAS)
5118331030
€ 5.00

27
5179711420
ref: 27
BOLT
€ 2.50

28
5179611420
ref: 28
BOLT
5179611420
€ 3.50

29
5177911420
ref: 29
CAP
5177911420
€ 4.50

30
5177811420
ref: 30
BREATHER
5177811420
€ 8.50

31
5170011810
ref: 31
MODULATOR PARTS SET,FRONT
5170011810
€ 92.50

32
5170011821
ref: 32
MODULATOR VALVE SET
5170011821
€ 133.00

33
5179911420
ref: 33
O RING,FR FORK
€ 2.00

all assemblies