×
Buy Suzuki SP Parts Online
home
CARBURETOR
SP500 1982 (Z) USA (E03)
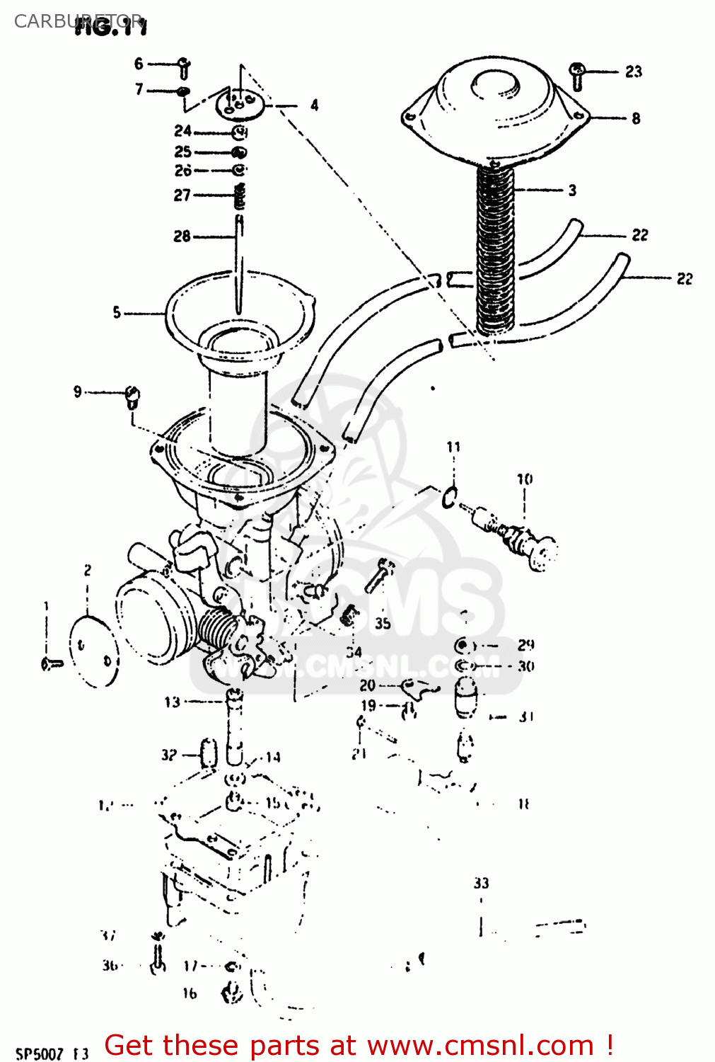
Carburetor diagram SP500 1982 (Z) USA (E03)
CARBURETOR SP500 1982 (Z) USA (E03)
×
prices are in EUR
ref
part #
description
quantity
0
1320037400
ref: 0
CARBURETOR ASSEMBLY (BS40)
€ 271.50
1
1360444080
ref: 1
SCREW
€ 4.00
2
1355137400
ref: 2
VALVE,THROTTLE (BUTTERFLY)
€ 43.00
3
1350337400
ref: 3
SPRING,DIAPHRAGM
€ 0.00
4
1338937400
ref: 4
PLATE
€ 6.00
5
1350037400
ref: 5
13500-24B40
DIAPHRAGM ASSEMBLY
€ 144.00
6
0211203088
ref: 6
02112-03087
SCREW
€ 2.00
7
0832121038
ref: 7
09162-03001
LOCK WASHER
€ 1.50
8
1350237400
ref: 8
COVER
€ 18.00
9
0949120010
ref: 9
09491-20019
JET
€ 7.50
10
1341137100
ref: 10
13411-37400
PLUNGER
€ 25.00
11
1327847090
ref: 11
O RING
€ 2.50
12
1325137100
ref: 12
13251-38300
GASKET,FLOAT CHAMBER (NAS)
€ 9.50
13
0949400322
ref: 13
JET,NEEDLE
€ 15.50
14
1338203110
ref: 14
WASHER
€ 3.00
15
0949128010
ref: 15
JET,MAIN(140)
€ 9.50
16
1324744080
ref: 16
PLUG,DRAIN
€ 9.50
17
1324644080
ref: 17
GASKET (NAS)
€ 4.00
18
1325037400
ref: 18
FLOAT
€ 28.00
19
0211204068
ref: 19
02112-0406B
SCREW 4X6
€ 2.00
20
1337339110
ref: 20
PLATE
€ 7.00
21
1325492311
ref: 21
PIN,FLOAT
€ 2.00
22
1368437100
ref: 22
44420-44AR0
HOSE
€ 14.00
23
0211205108
ref: 23
02112-05107
SCREW
€ 2.50
24
1338744030
ref: 24
RING
€ 5.50
25
1339431210
ref: 25
CLIP,NEEDLE
€ 4.00
26
1338244030
ref: 26
WASHER
€ 4.00
27
1338844030
ref: 27
SPRING
€ 6.50
28
1338337400
ref: 28
NEEDLE JET
€ 9.00
29
1337665010
ref: 29
13376-19F00
FILTER
€ 7.00
30
6626399050
ref: 30
13374-35C00
O RING
€ 6.00
31
1337037400
ref: 31
13370-24C80
VALVE ASSEMBLY,NEEDLE
€ 72.00
32
0949247007
ref: 32
09492-47017
JET,PILOT
€ 16.00
33
1368345070
ref: 33
HOSE
€ 11.50
34
1327137100
ref: 34
13271-93011
SPRING
€ 4.50
35
1326737100
ref: 35
13267-25D00
SCREW,THROTTLE STOP
€ 10.00
36
0211206168
ref: 36
02112-06167
SCREW
€ 2.50
37
0832121068
ref: 37
08321-01067
LOCK WASHER
€ 2.50
up
all assemblies
AIR CLEANER
BALANCER CHAIN
BATTERY
CAM CHAIN
CAM SHAFT - VALVE
CARBURETOR
CHAIN CASE
CLUTCH
CRANK BALANCER
CRANKCASE (MODEL X)
CRANKCASE (MODEL Z)
CRANKCASE COVER
CRANKSHAFT
CYLINDER
CYLINDER HEAD
ELECTRICAL
FOOTREST
FRAME
FRAME COVER (MODEL X)
FRAME COVER (MODEL Z)
FRONT FORK (MODEL X)
FRONT FORK (MODEL Z)
FRONT WHEEL
FUEL COCK
FUEL TANK (MODEL X)
FUEL TANK (MODEL Z)
GEAR SHIFTING
HANDLEBAR
HEADLAMP
HEADLAMP HOUSING - FRONT FENDER
KICK STARTER
LEFT HANDLE SWITCH (MODEL X)
LEFT HANDLE SWITCH (MODEL Z)
MAGNETO
MUFFLER
OIL PUMP
REAR COMBINATION LAMP
REAR FENDER
REAR SWINGING ARM
REAR WHEEL
RIGHT HANDLE SWITCH (MODEL X)
RIGHT HANDLE SWITCH (MODEL Z)
SEAT
SPEEDOMETER - TACHOMETER
STAND - REAR BRAKE
STEERING STEM (MODEL X)
STEERING STEM (MODEL Z)
TRANSMISSION
TURN SIGNAL LAMP
WIRING HARNESS
up