×
Buy Suzuki ZR Parts Online
home
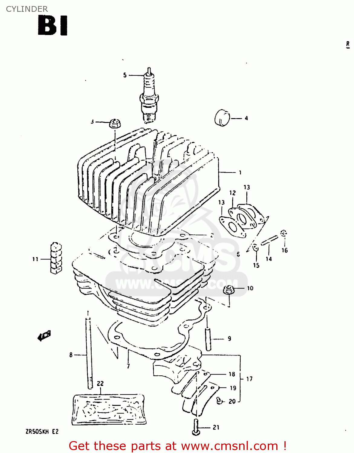
CYLINDER
ZR50SK 1984 (E) (E02 E16 E21)
Cylinder diagram ZR50SK 1984 (E) (E02 E16 E21)
CYLINDER ZR50SK 1984 (E) (E02 E16 E21)
×
prices are in EUR
ref
part #
description
quantity
1-1
1111146140
ref: 1-1
E2, E16
CYLINDER HEAD
€ 85.50
1-2
1111113000
ref: 1-2
E21
CYLINDER HEAD
€ 75.00
2-1
1114146150
ref: 2-1
E2, E16
GASKET,CYLINDER HEAD (NAS)
€ 5.00
2-2
1114146181
ref: 2-2
E21
GASKET,CYLINDER HEAD (NAS)
€ 8.50
3
0915906017
ref: 3
NUT
€ 2.50
4
1125228000
ref: 4
E16, E21
PAD,CYLINDER
€ 2.50
5-1
0948200177
ref: 5-1
E2, E16
SPARK PLUG (NGK,BP6ES)
€ 4.00
5-2
0948200154
ref: 5-2
E2, E16
SPARK PLUG (ND,W20EP)
€ 3.00
5-3
0948200175
ref: 5-3
E21
SPARK PLUG BP8ES
€ 6.50
5-4
0948200176
ref: 5-4
E21
SPARK PLUG W24EP
€ 6.50
6-1
1121026910
ref: 6-1
E2, E16
CYLINDER
€ 0.00
6-2
1121013000
ref: 6-2
E21
CYLINDER
€ 245.50
7
1124146100
ref: 7
GASKET,CYLINDER (MCA)
€ 6.50
8
0910806012
ref: 8
BOLT,STUD
€ 5.00
9
0142106168
ref: 9
STUD 6X16
€ 2.50
10
0915906017
ref: 10
NUT
€ 2.50
11
1125136500
ref: 11
PAD,CYLINDER
€ 7.50
12
1312946100
ref: 12
INSULATOR,CARBURETOR
€ 10.50
13
1312546100
ref: 13
GASKET,CARBURETOR (MCA)
€ 3.00
14
0141106208
ref: 14
STUD BOLT
€ 1.50
15
0832221067
ref: 15
WASHER
€ 2.50
16
0831011068
ref: 16
NUT
€ 2.50
17
1315026411
ref: 17
E21
VALVE ASSY,REED
€ 55.50
18
1315326410
ref: 18
E21
VALVE,REED
€ 7.50
19
1315226410
ref: 19
E21
STOPPER,REED VALVE
€ 5.00
20
1315419011
ref: 20
E21
SCREW,REED VALVE
€ 2.00
21
0211206168
ref: 21
E21
SCREW
€ 2.50
22-1
1140146881
ref: 22-1
OPT, E2, E16
GASKET SET
€ 41.00
22-2
1140146851
ref: 22-2
OPT, E21
GASKET SET (NAS)
€ 37.00
up
all assemblies
* COLOR CHART *
* CATALOG PREFACE *
* CONVERSION CHART *
CYLINDER
CRANKCASE
CRANKCASE COVER
CRANKSHAFT
CARBURETOR
AIR CLEANER
MUFFLER
OIL PUMP
CLUTCH
TRANSMISSION
GEAR SHIFTING
KICK STARTER
MAGNETO
BATTERY
SPEEDOMETER - TACHOMETER
HEADLAMP
TURN SIGNAL LAMP
REAR COMBINATION LAMP (E2,E16)
ELECTRICAL
FRAME
STAND
REAR BRAKE
FUEL TANK
FUEL COCK
OIL TANK
SEAT
SEAT TAIL COVER
FRAME COVER
FRONT FORK
HEADLAMP HOUSING - FRONT FENDER
FRONT WHEEL
HANDLEBAR
HANDLE SWITCH
CALIPERS (E2,E21)
FRONT BRAKE HOSE
MASTER CYLINDER
REAR SWINGING ARM (E2,E21)
REAR FENDER
REAR WHEEL
COWLING
OPTIONAL
up