×
Buy Suzuki GS Parts Online
home
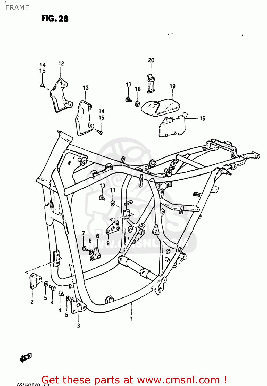
FRAME
GS450TX 1983 (D) USA (E03)
Frame diagram GS450TX 1983 (D) USA (E03)
FRAME GS450TX 1983 (D) USA (E03)
×
prices are in EUR
ref
part #
description
quantity
1
4110044700019
ref: 1
41100-44701-019
FRAME
€ 1,047.50
2
4199144400019
ref: 2
PLATE,ENG MTG NO.1,R
€ 10.00
3
4199244400019
ref: 3
PLATE,ENGINE MOUNTING,LEFT
€ 8.50
4
0110708168
ref: 4
01500-0816B
BOLT
€ 2.00
5
0832121088
ref: 5
08321-01087
LOCK WASHER
€ 2.50
6
4192044110019
ref: 6
PLATE,MOUNTING NO.2,LEFT
€ 0.00
7
0110708168
ref: 7
01500-0816B
BOLT
€ 2.00
8
0832121088
ref: 8
08321-01087
LOCK WASHER
€ 2.50
9
4197011500019
ref: 9
PLATE,MOUNTING NO.4,LEFT
€ 12.00
10
0110708458
ref: 10
01500-08453
BOLT 8X45
€ 3.00
11
0832121088
ref: 11
08321-01087
LOCK WASHER
€ 2.50
12
5187644500
ref: 12
COVER,FRAME HEAD,RIGHT
€ 6.00
13
5188644500
ref: 13
COVER,FRAME HEAD,LEFT
€ 9.00
14
0214205208
ref: 14
02142-05207
(5X20) CROSS SCREW
€ 2.00
15
0214205458
ref: 15
02142-05453
SCREW, LOWER
€ 2.00
16
4743044400
ref: 16
47430-44401
HOLDER,TOOL
€ 11.50
17
0110706108
ref: 17
01500-06107
BOLT
€ 2.00
18
0832121068
ref: 18
08321-01067
LOCK WASHER
€ 2.50
19
0980006800
ref: 19
09800-06801
TOOL SET
€ 52.00
20
0946200072
ref: 20
BAND
€ 8.50
up
all assemblies
AIR CLEANER
BATTERY
CAM CHAIN
CAM SHAFT - VALVE
CARBURETOR
CHAIN CASE - SHOCK ABSORBER
CLUTCH
CRANKCASE
CRANKCASE COVER
CRANKSHAFT
CRANKSHAFT BALANCER
CYLINDER
CYLINDER HEAD
CYLINDER HEAD COVER
ELECTRICAL
FOOTREST
FRAME
FRAME COVER
FRONT FORK
FRONT WHEEL
FUEL COCK
FUEL TANK
GEAR SHIFTING
GENERATOR
HANDLEBAR
HEADLAMP
HEADLAMP HOUSING - FRONT FENDER
LEFT HANDLE SWITCH
MUFFLER
OIL FILTER - OIL PUMP
REAR COMBINATION LAMP
REAR FENDER
REAR SWINGING ARM
REAR WHEEL
RIGHT HANDLE SWITCH
SEAT
SIGNAL GENERATOR
SPEEDOMETER - TACHOMETER
STAND - REAR BRAKE
STARTER CLUTCH
STARTING MOTOR
STEERING STEM
TRANSMISSION
TURN SIGNAL LAMP
WIRING HARNESS
up