×
Buy Suzuki SP Parts Online
home
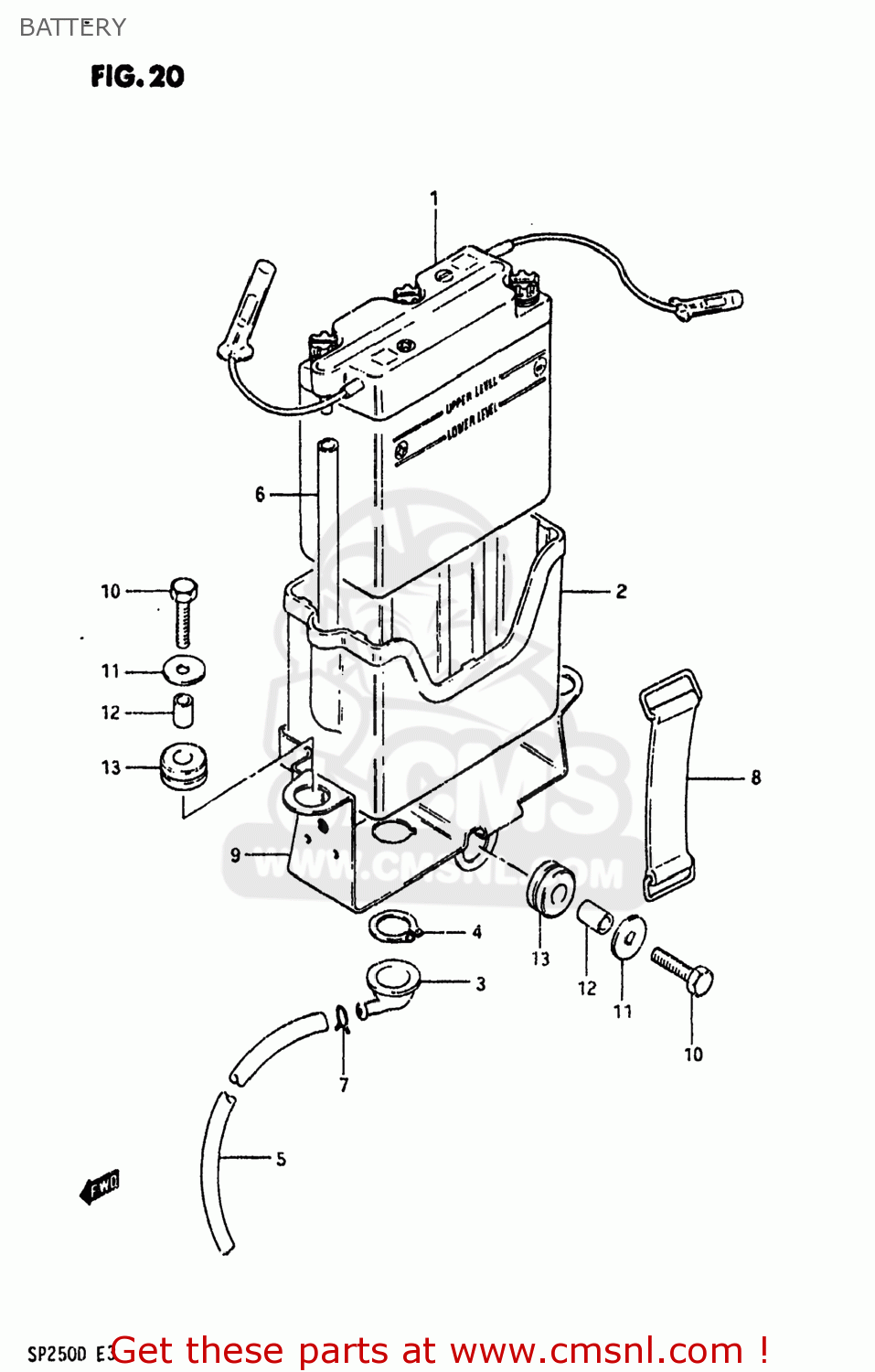
BATTERY
SP250 1983 (D) USA (E03)
Battery diagram SP250 1983 (D) USA (E03)
BATTERY SP250 1983 (D) USA (E03)
×
prices are in EUR
ref
part #
description
quantity
1
3361032620
ref: 1
33610-03610
BATTERY ASSEMBLY
€ 49.50
2
3366132400
ref: 2
CASE,BATTERY
€ 10.50
3
3366232401
ref: 3
FUNNEL,BATTERY EXHAUST
€ 0.00
4
0833131178
ref: 4
08331-3117A
CIRCLIP
€ 2.00
5
3368002100
ref: 5
33680-16A10
HOSE,BATTERY EXHAUST
€ 5.00
6
3368147000
ref: 6
33680-16A10
HOSE, EXHAUST (L:45)
€ 5.00
7
0940108301
ref: 7
CLIP
€ 1.50
8
0946200034
ref: 8
BAND
€ 5.00
9
4154038200
ref: 9
41540-38201
HOLDER,BATTERY
€ 0.00
10
0110706168
ref: 10
01500-06167
BOLT, UPPER
€ 3.00
11
0916006027
ref: 11
09160-06077
WASHER (6.5X20X1.2)
€ 2.00
12
0918006038
ref: 12
SPACER(6.1X9X7.5)
€ 2.00
13
0932008007
ref: 13
09320-08021
CUSHION
€ 4.50
up
all assemblies
AIR CLEANER
BATTERY
CAM CHAIN
CAM SHAFT - VALVE
CARBURETOR
CLUTCH
CRANK BALANCER
CRANKCASE
CRANKCASE COVER (MODEL D)
CRANKCASE COVER (MODEL Z)
CRANKSHAFT
CUSHION LEVER
CYLINDER
CYLINDER HEAD (MODEL D)
CYLINDER HEAD (MODEL Z)
ELECTRICAL
FOOTREST
FRAME
FRAME COVER (MODEL D)
FRAME COVER (MODEL Z)
FRONT FORK
FRONT WHEEL
FUEL COCK
FUEL TANK (MODEL D)
FUEL TANK (MODEL Z)
GEAR SHIFTING
HANDLEBAR
HEADLAMP
HEADLAMP HOUSING
KICK STARTER
LEFT HANDLE SWITCH
MAGNETO
MUFFLER
OIL PUMP
REAR COMBINATION LAMP
REAR FENDER
REAR SWINGING ARM
REAR WHEEL
RIGHT HANDLE SWITCH
SEAT
SHOCK ABSORBER
SPEEDOMETER
STAND - REAR BRAKE
STEERING STEM
TRANSMISSION
TURN SIGNAL LAMP
WIRING HARNESS
up