prices are in EUR
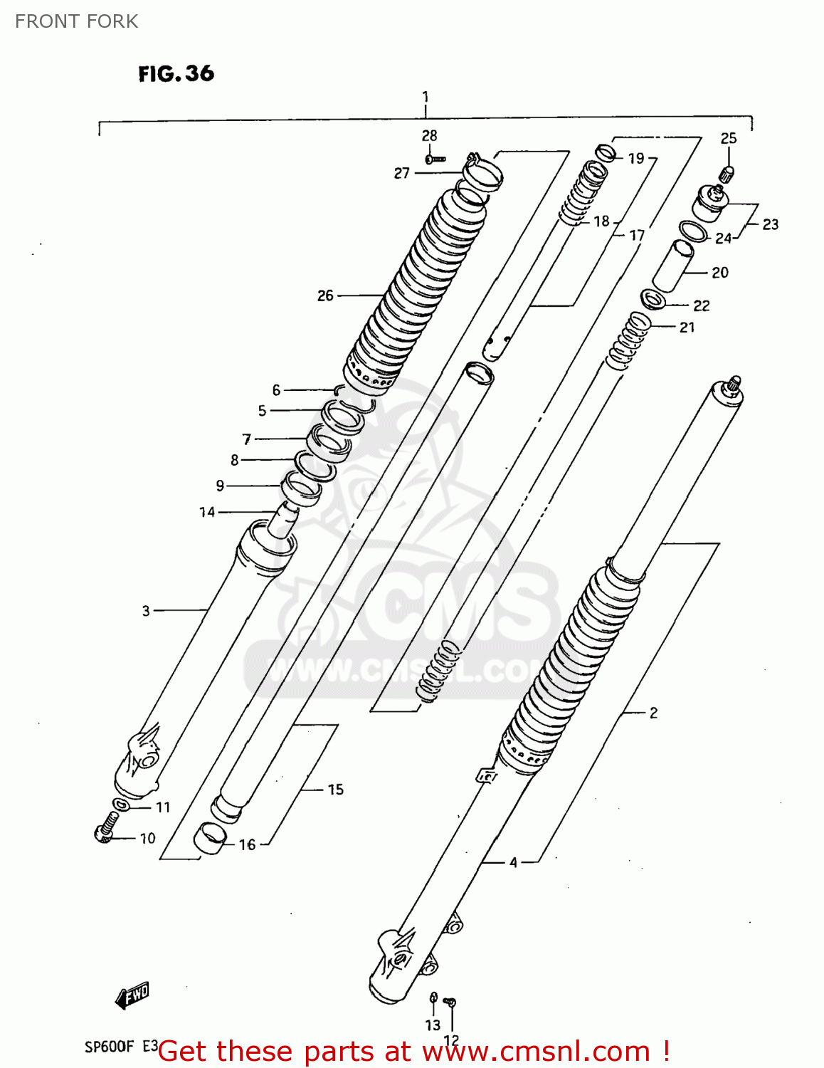
ref
part #
description
quantity
 
1
DAMPER ASSEMBLY,FRONT FORK,RIGHT
 
2
DAMPER ASSEMBLY,FRONT FORK,LEFT
 
4
TUBE,FORK,LEFT,OUTER
 
 
 
5
SEAL,DUST
 
 
 
6
RING,OIL SEAL STOPPER
 
 
 
7
SEAL,OIL
 
 
 
8
WASHER,FORK OIL SEAL
 
 
 
9
METAL,FR FORK SLIDE
 
 
 
10
BOLT,CYLINDER
 
 
 
11
GASKET,CYLINDER (NAS)
 
 
 
12
SCREW 4X6
 
 
 
13
GASKET,DRAIN,PLUG (NAS)
 
 
 
14
PIECE,FRONT FORK OIL LOCK
 
15
TUBE,FORK,INNER
 
 
 
16
METAL,SLIDE FR FORK
 
 
 
19
RING,FRONT FORK PISTON
 
 
 
20
SPACER,FRONT FORK SPRING
 
21
SPRING,FRONT FORK
 
 
 
23
CAP,FORK INNER TUBE
 
 
 
24
O RING
 
 
 
25
CAP
