×
Buy Suzuki GS Parts Online
home
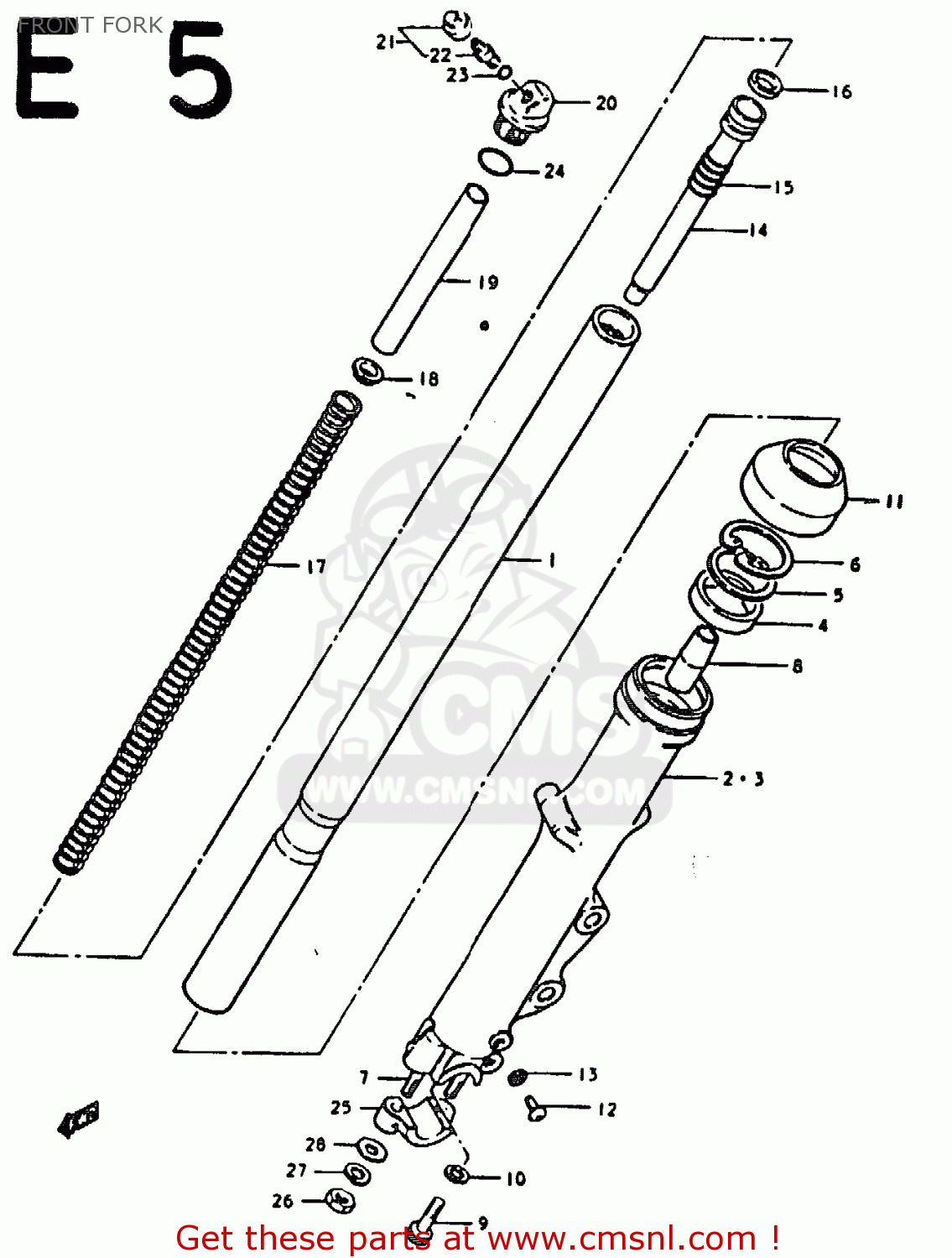
FRONT FORK
GS1000 1978 (C) GENERAL EXPORT (E01)
Front fork diagram GS1000 1978 (C) GENERAL EXPORT (E01)
FRONT FORK GS1000 1978 (C) GENERAL EXPORT (E01)
×
prices are in EUR
ref
part #
description
quantity
0
5110049810
ref: 0
DAMPER SET
€ 0.00
0
5110449000
ref: 0
DAMPER ASSEMBLY,LEFT
€ 0.00
1
5111049001
ref: 1
TUBE,FORK,INNER
€ 350.50
2
5113049000
ref: 2
TUBE,FORK,OUTER,RIGHT
€ 189.00
3
5114049000
ref: 3
TUBE,OUTER,LEFT
€ 0.00
4
5115349000
ref: 4
OIL SEAL,FRONT FORK
€ 16.50
5
5115849000
ref: 5
WASHER. FRONT FORK
€ 7.00
6
5115649000
ref: 6
CIRCLIP,FORK OIL SEAL
€ 5.50
7
0142108308
ref: 7
STUD BOLT
€ 2.50
8
5119538010
ref: 8
PIECE,OIL LOCK
€ 16.00
9
5114716510
ref: 9
BOLT,FORK CYLINDER(10X25)
€ 4.00
10
5114841310
ref: 10
GASKET (NAS)
€ 2.50
11
5117349001
ref: 11
SEAL,DUST
€ 14.50
12
0211104087
ref: 12
SCREW
€ 1.50
13
5118303010
ref: 13
GASKET,DRAIN,PLUG (NAS)
€ 3.00
14
5114649000
ref: 14
CYLINDER,FRONT FORK
€ 78.00
15
5117749000
ref: 15
SPRING,REBOUND
€ 7.50
16
5119649000
ref: 16
RING,PISTON
€ 9.50
17
5117149000
ref: 17
SPRING,FRONT FORK
€ 42.00
18
5117238010
ref: 18
GUIDE,FRONT FORK SPRING C
€ 9.50
19
5117649000
ref: 19
SPACER,FRONT FORK SPRING
€ 3.50
20
5135141211
ref: 20
CAP
€ 41.00
21
5116949001
ref: 21
VALVE & CAP ASSY
€ 18.00
22
5116941211
ref: 22
VALVE
€ 18.00
23
5111741211
ref: 23
O RING
€ 6.50
24
5111716310
ref: 24
O RING
€ 5.00
25
5113249000
ref: 25
HOLDER,AXLE
€ 30.00
26
0914008005
ref: 26
NUT (8MM)
€ 2.00
27
0832121088
ref: 27
LOCK WASHER
€ 2.50
28
0832221088
ref: 28
WASHER
€ 2.50
up
all assemblies
* COLOR CHART *
* CATALOG PREFACE *
* CONVERSION CHART *
CYLINDER HEAD COVER
CYLINDER HEAD
CYLINDER
CRANKCASE
CRANKCASE RH COVER
CRANKCASE LH COVER
OIL PAN
CRANKSHAFT
STARTER CLUTCH
CAM SHAFT - VALVE
CAM CHAIN
CARBURETOR (GS1000C, HC, EC)
AIR CLEANER
MUFFLER
OIL PUMP
CLUTCH
TRANSMISSION
GEAR SHIFTING
STARTING MOTOR
GENERATOR
CONTACT BREAKER
BATTERY
SPEEDOMETER - TACHOMETER
HEADLAMP (GS1000C, HC)
TURN SIGNAL LAMP
REAR COMBINATION LAMP
ELECTRICAL
WIRING HARNESS
FRAME
STAND
FOOTREST
FUEL TANK
FUEL COCK - FUEL GAUGE
SEAT
FRAME COVER
FRONT FORK
STEERING STEM (GS1000C, HC, EC)
FRONT WHEEL (GS1000C, N)
HANDLEBAR - FRONT FENDER
RH HANDLE SWITCH
LH HANDLE SWITCH
FRONT CARIPERS
FRONT MASTER CYLINDER
FRONT BRAKE HOSE
REAR SWINGING ARM
CHAIN CASE - SHOCK ABSORBER
REAR FENDER
REAR WHEEL (GS1000C, N)
REAR CARIPERS
REAR BRAKE HOSE
REAR MASTER CYLINDER
OPTIONAL
OPTIONAL
FOR SPECIAL MARKET (E2)
FOR SPECIAL MARKET (E2)
FOR SPECIAL MARKET (E2)
up