×
Buy Suzuki DL Parts Online
home
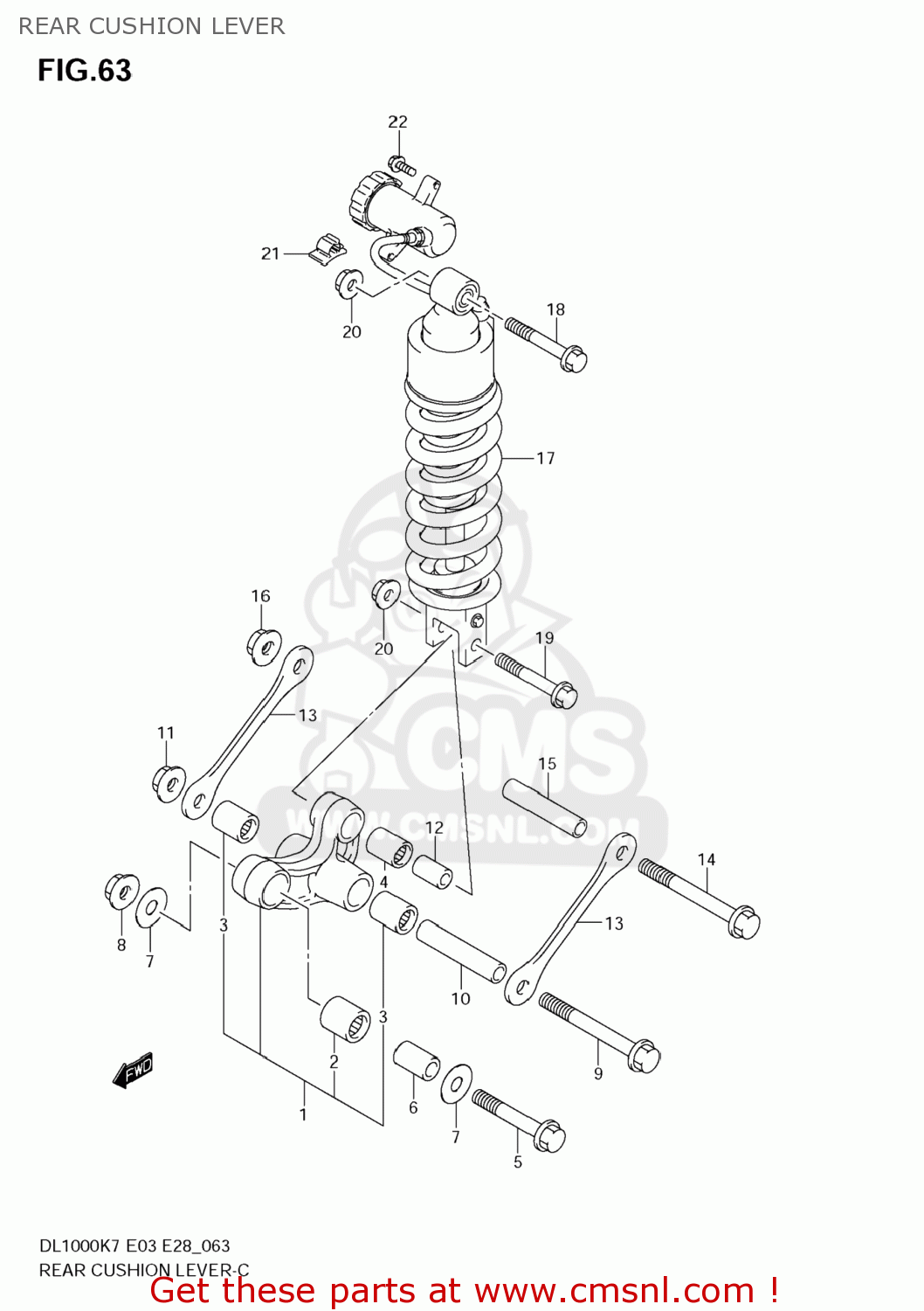
REAR CUSHION LEVER
DL1000 VSTROM 2008 (K8) USA (E03)
Rear cushion lever diagram DL1000 VSTROM 2008 (K8) USA (E03)
REAR CUSHION LEVER DL1000 VSTROM 2008 (K8) USA (E03)
×
prices are in EUR
ref
part #
description
quantity
1
6260006870
ref: 1
LEVER SET,RR CUSHION
€ 253.00
2
0926320073
ref: 2
BEARING(20X27X30)
€ 25.50
3
0926317037
ref: 3
BEARING(17X24X25)
€ 19.00
4
0926317034
ref: 4
BEARING(17X24X26)
€ 23.50
5
6265819F00
ref: 5
BOLT,RR CUSHION LEVER FR
€ 8.50
6
6268412C00
ref: 6
SPACER,RR CUSHION LEVER FR
€ 13.50
7
0916012037
ref: 7
WASHER(12X34X1)
€ 4.00
8
0915912056
ref: 8
NUT
€ 7.50
9
6262119D00
ref: 9
BOLT,RR CUSHION ROD
€ 6.00
10
0918012122
ref: 10
SPACER(12X17X85)
€ 16.50
11
0915912056
ref: 11
NUT
€ 7.50
12
6268440A10
ref: 12
SPACER,RR CUSHION LEVER
€ 13.00
13
6264106G00
ref: 13
ROD,RR CUSHION LEVER
€ 24.00
14
6262119D00
ref: 14
BOLT,RR CUSHION ROD
€ 6.00
15
0918012122
ref: 15
SPACER(12X17X85)
€ 16.50
16
0915912056
ref: 16
NUT
€ 7.50
17-1
6210006G1013L
ref: 17-1
ABSORBER ASSY,RR SHOCK
€ 1,637.50
17-1
6210006G1013L
ref: 17-1
ABSORBER ASSY,RR SHOCK
€ 1,637.50
17-2
6210006G2013L
ref: 17-2
ABSORBER ASSY,RR SHOCK
€ 0.00
17-2
6210006G2013L
ref: 17-2
ABSORBER ASSY,RR SHOCK
€ 0.00
18
0910310033
ref: 18
BOLT(10X70)
€ 5.50
19
0910310143
ref: 19
BOLT(10X55)
€ 4.00
20
0915910115
ref: 20
NUT
€ 4.00
21
0940310313
ref: 21
CLAMP
€ 7.50
22
015500616A
ref: 22
BOLT
€ 2.50
up
all assemblies
2ND AIR
AIR CLEANER
BATTERY
CAM CHAIN
CAMSHAFT / VALVE
CARRIER
CLUTCH
CLUTCH MASTER CYLINDER
COWL BODY INSTALLATION PARTS
COWLING BODY
CRANKCASE
CRANKCASE COVER
CRANKSHAFT
CYLINDER
ELECTRICAL
EVAP SYSTEM (E33)
FOOTREST
FRAME
FRAME COVER
FRONT BRACKET
FRONT BRAKE HOSE
FRONT CALIPER
FRONT CYLINDER HEAD
FRONT DAMPER
FRONT FENDER
FRONT MASTER CYLINDER
FRONT WHEEL
FUEL DELIVERY PIPE
FUEL PUMP
FUEL TANK (MODEL K7/K8)
FUEL TANK (MODEL K9)
GASKET SET
GEAR SHIFTING
HANDLE LEVER
HANDLE SWITCH
HANDLEBAR
HEADLAMP
KNUCKLE COVER
LABEL
MAGNETO
MUFFLER
OIL COOLER
OIL PUMP
RADIATOR
RADIATOR HOSE
REAR CALIPER
REAR CUSHION LEVER
REAR CYLINDER HEAD
REAR FENDER
REAR MASTER CYLINDER
REAR SWINGING ARM
REAR WHEEL
SEAT
SEAT TAIL COVER
SIDE COWL INSTALLATION PARTS
SIDE COWLING (MODEL K7/K8)
SIDE COWLING (MODEL K9)
SPEEDOMETER
STAND
STARTER CLUTCH
STARTING MOTOR
STEERING STEM
TAIL LAMP
THROTTLE BODY
TRANSMISSION
TURNSIGNAL LAMP
WATER PUMP
WIRING HARNESS
up