×
Buy Suzuki GV Parts Online
home
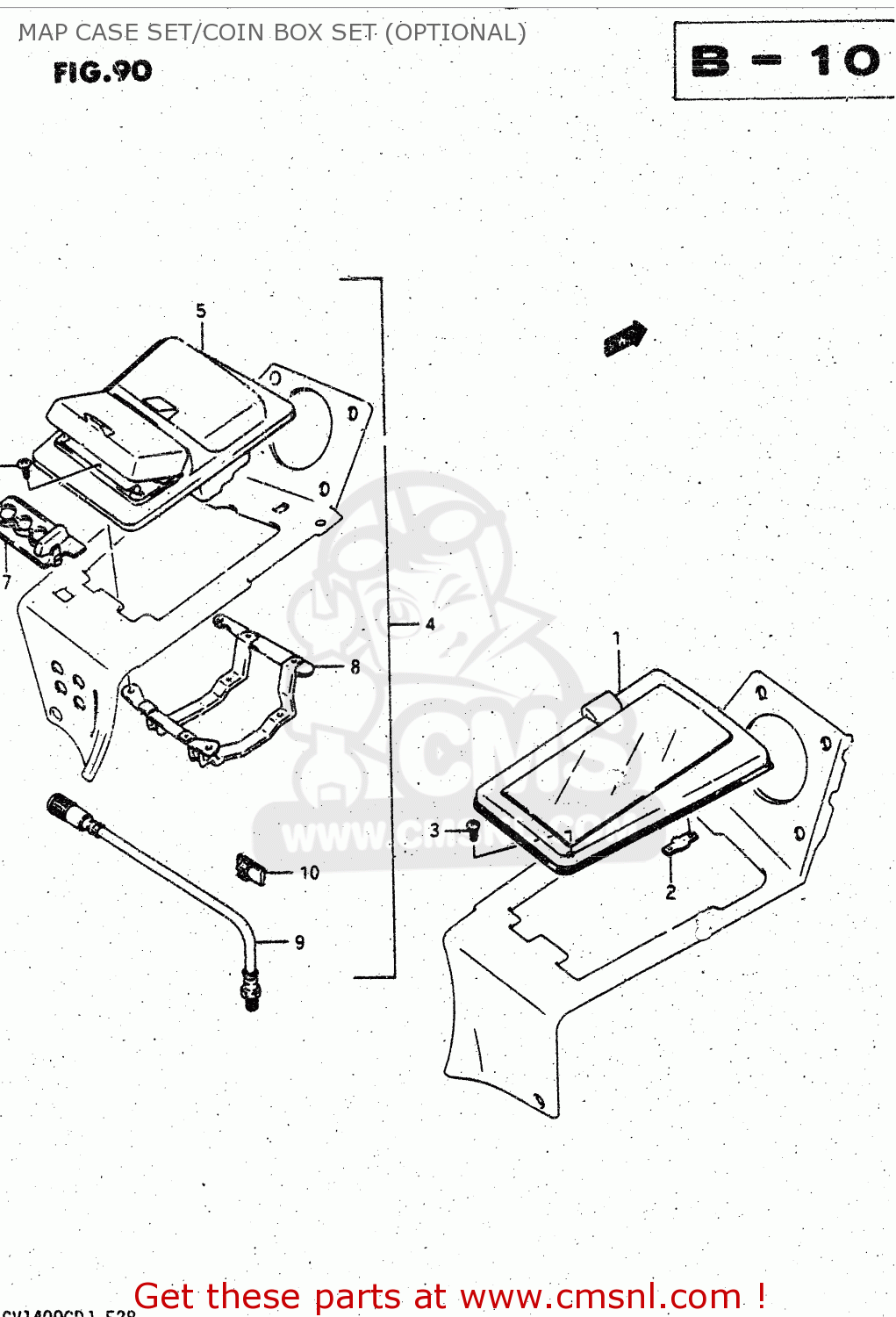
MAP CASE SET/COIN BOX SET (OPTIONAL)
GV1400GC 1988 (J) (E01)
Map case set/coin box set (optional) diagram GV1400GC 1988 (J) (E01)
MAP CASE SET/COIN BOX SET (OPTIONAL) GV1400GC 1988 (J) (E01)
×
prices are in EUR
ref
part #
description
quantity
1
9460024820
ref: 1
CASE SET,MAP
€ 346.00
2
9744824A00
ref: 2
PLATE,PANEL BOX BASE
€ 3.50
3
0212204165
ref: 3
SCREW
€ 2.50
4-1
9460024830
ref: 4-1
MODEL G/H
CASE SET,MAP
€ 342.00
4-2
9460024831
ref: 4-2
MODEL J
BOX SET,COIN
€ 342.00
5
9466024A00
ref: 5
BOX COMP,COWLING PANEL,LEFT
€ 209.00
6
0214205105
ref: 6
SCREW
€ 2.50
7-1
9742024A00
ref: 7-1
MODEL G/H
CASE,COIN HOLDER
€ 77.00
7-2
9742024A01
ref: 7-2
MODEL J
CASE,COIN HOLDER
€ 77.00
8
9476024A00
ref: 8
BRACKET COMP,COWLING BOX
€ 30.50
9
6238024A20
ref: 9
HOSE,AIR VALVE
€ 0.00
10
0940800082
ref: 10
CLAMP
€ 5.50
up
all assemblies
* COLOR CHART *
* CATALOG PREFACE *
* CONVERSION CHART *
CYLINDER HEAD COVER
CARBURETOR
CARBURETOR FITTINGS
AIR CLEANER
MUFFLER
FUEL PUMP
WATER PUMP
RADIATOR
RADIATOR HOSE - RESERVE TANK
CLUTCH
TRANSMISSION
CYLINDER HEAD (FRONT)
SECONDARY DRIVE GEAR
GEAR SHIFTING
PROPELLER SHAFT - FINAL DRIVE GEAR
STARTING MOTOR
GENERATOR
BATTERY
ELECTRICAL
AUTO CRUISER
SPEEDOMETER - TACHOMETER
HEADLAMP
CYLINDER HEAD (REAR)
FRONT TURNSIGNAL LAMP
REAR COMBINATION LAMP
LICENSE LAMP
TRUNK LAMP
CORNERING LAMP (GV1400GCJ)
WIRING HARNESS
AUDIO
FRAME
STAND
REAR BRAKE
FRONT FOOTREST
CRANKCASE
PILLION FOOTREST
FUEL TANK
FUEL COCK
SEAT
TRAVEL TRUNK PAD (GV1400GDG/GDH/GDJ)
TRAVEL TRUNK PAD (GV1400GCJ)
FRAME COVER (MODEL G)
FRAME COVER (MODEL H/J)
FAIRING (GV1400GCJ)
FRONT FORK (MODEL G)
FRONT FORK (MODEL H/J)
STEERING STEM
CRANKCASE COVER
FRONT FENDER
FRONT WHEEL (MODEL G ~F.NO.103764)
FRONT WHEEL (MODEL G F.NO.103765~/MODEL H/J)
HANDLEBAR - CONTROL CABLE (MODEL G)
HANDLEBAR - CONTROL CABLE (MODEL H/J)
RIGHT HANDLE SWITCH
LEFT HANDLE SWITCH
FRONT CALIPERS
FRONT BRAKE HOSE
FRONT MASTER CYLINDER
OIL PUMP
CLUTCH MASTER CYLINDER
CLUTCH HOSE
REAR SWINGING ARM
REAR SHOCK ABSORBER
REAR FENDER
REAR WHEEL (MODEL G ~F.NO.103764)
REAR WHEEL (MODEL G F.NO.103765~/MODEL H/J)
REAR CALIPERS
REAR MASTER CYLINDER
FRAME UPPER COVER (MODEL G/H)
FRAME UPPER COVER (MODEL J)
CRANKSHAFT
OUTER COWLING (MODEL G ~F.NO.104470)
OUTER COWLING (MODEL G F.NO.104471~/MODEL H)
OUTER COWLING (MODEL J)
INNER COWLING (MODEL G/H/GV1400GDJ)
INNER COWLING (GV1400GCJ)
COWLING BRACE
BUMPER (NO.1)
BUMPER (NO.2)
TRAVEL TRUNK (MODEL G)
TRAVEL TRUNK (MODEL H)
TRAVEL TRUNK (MODEL J)
SIDE BAG (MODEL G)
SIDE BAG (MODEL H)
SIDE BAG (MODEL J)
CORNER LAMP COVER (GV1400GCJ)
CAMSHAFT - VALVE
CB RADIO KIT (OPTIONAL)
OPTIONAL
SADDLEBAG TRIM SET (OPTIONAL)
TRAVEL TRUNK RACK/TRIM SET (OPTIONAL)
FRONT MARKER LAMP SET (OPTIONAL)
TRAVEL TRUNK MARKER LAMP SET (OPTIONAL)
REAR END MARKER LAMP SET (OPTIONAL)
TAIL MARKER LAMP/HARNESS SET (OPTIONAL)
CORNERING LAMP SET (OPTIONAL)
AIR VENT FAIRING SET (OPTIONAL)
CAM CHAIN
MAP CASE SET/COIN BOX SET (OPTIONAL)
OPTIONAL
up