×
Buy Suzuki DR Parts Online
home
KICK STARTER
DR250 1985 (F) USA (E03)
Kick starter diagram DR250 1985 (F) USA (E03)
KICK STARTER DR250 1985 (F) USA (E03)
×
prices are in EUR
ref
part #
description
quantity
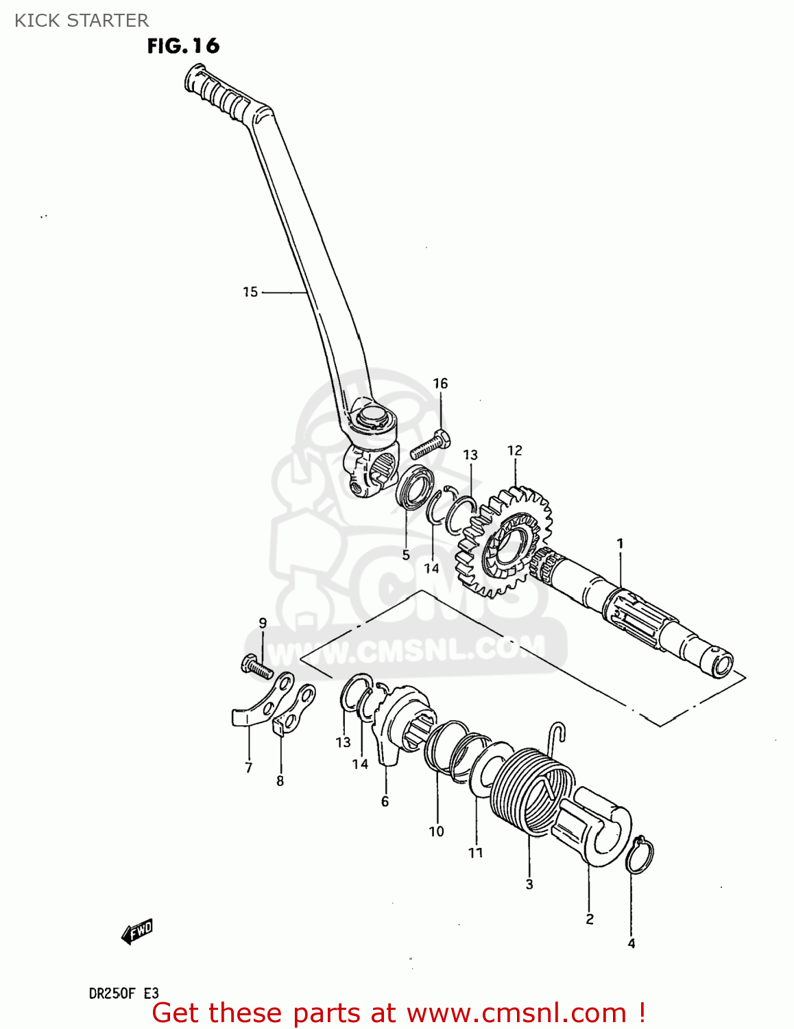
1
2621138201
ref: 1
SHAFT,KICK STARTER
€ 59.00
2
2622132400
ref: 2
GUIDE,KICK STARTER SFT SPRING
€ 8.50
3
0944845008
ref: 3
SPRING
€ 17.00
4
0938017001
ref: 4
CIRCLIP
€ 2.00
5
0928320031
ref: 5
SEAL,OIL(20X27X5)
€ 5.50
6
2623138200
ref: 6
26231-38202
STARTER,KICK
€ 27.50
7
2623238200
ref: 7
GUIDE,KICK STARTER
€ 4.00
8
2623332400
ref: 8
STOPPER,KICK STARTER
€ 3.50
9
0110708208
ref: 9
01500-08207
BOLT
€ 3.50
10
0944032006
ref: 10
SPRING
€ 1.50
11
0821117341
ref: 11
WASHER
€ 2.50
12
2624038200
ref: 12
GEAR,KICK STARTER DRIIVE
€ 86.50
13
0821122281
ref: 13
09181-22139
SHIM
€ 4.50
14
0938022006
ref: 14
CIRCLIP
€ 3.50
15
2630038211
ref: 15
26300-38220
LEVER ASSEMBLY,KICK STARTER
€ 81.50
16
0910008194
ref: 16
BOLT 8X25
€ 2.00
up
all assemblies
AIR CLEANER
CAM CHAIN
CAM SHAFT - VALVE
CARBURETOR
CHAIN GUIDE
CLUTCH
CRANK BALANCER
CRANKCASE
CRANKCASE COVER
CRANKSHAFT
CUSHION LEVER
CYLINDER
CYLINDER HEAD
ELECTRICAL
FOOTREST
FRAME
FRAME COVER
FRONT BRAKE HOSE
FRONT CALIPER
FRONT FENDER
FRONT FORK
FRONT MASTER CYLINDER
FRONT WHEEL
FUEL COCK
FUEL TANK
GEAR SHIFTING
HANDLEBAR
HEADLAMP
HEADLAMP HOUSING
KICK STARTER
LEFT HANDLE SWITCH
MAGNETO
MUFFLER
OIL PUMP
REAR FENDER
REAR SWINGING ARM
REAR WHEEL
RIGHT HANDLE SWITCH
SEAT
SHOCK ABSORBER
STAND - REAR BRAKE
STEERING STEM
TAIL LAMP
TRANSMISSION
TRIP METER
up