×
Buy Suzuki GSX Parts Online
home
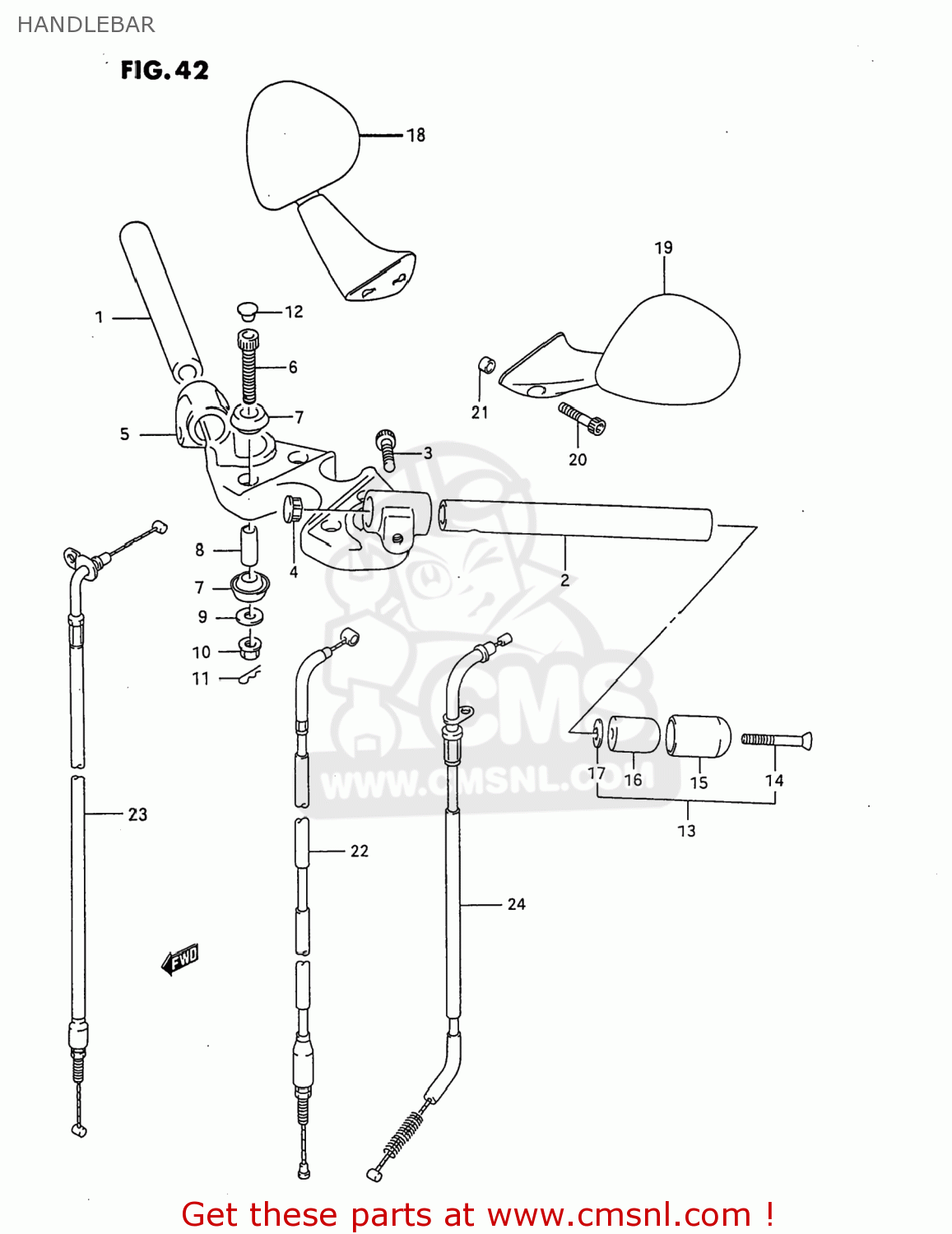
HANDLEBAR
GSX750F KATANA 1997 (V) USA (E03)
Handlebar diagram GSX750F KATANA 1997 (V) USA (E03)
HANDLEBAR GSX750F KATANA 1997 (V) USA (E03)
×
prices are in EUR
ref
part #
description
quantity
1
5611020C00
ref: 1
HANDLEBAR,R
€ 36.50
2
5615020C00
ref: 2
HANDLEBAR,L
€ 35.50
3
0713008303
ref: 3
07130-0830A
BOLT
€ 3.50
4
5721533400
ref: 4
CAP,HANDLEBAR
€ 5.00
5
5621120C20
ref: 5
HOLDER,HANDLEBAR
€ 327.50
6
0910610054
ref: 6
BOLT(10X77)
€ 5.00
7
5624042A00
ref: 7
RUBBER,HANDLE HOLDER
€ 25.00
8
5624320C00
ref: 8
SPACER,HANDLEBAR BRACKET
€ 5.50
9
0916010094
ref: 9
WASHER(10.5X30X3.2)
€ 3.50
10
0831931105
ref: 10
08319-3110A
NUT 10MM
€ 3.50
11
0938510005
ref: 11
CLIP
€ 2.00
12
0925006008
ref: 12
CAP(OD:10)
€ 3.50
13
5620001831
ref: 13
BALANCER SET,HANDLEBAR
€ 55.00
14
0212206603
ref: 14
02122-0660B
SCREW
€ 3.50
15
5627449310
ref: 15
CAP,HANDLE BALANCER
€ 149.00
16
5627149310
ref: 16
BALANCER,HANDLEBAR
€ 15.50
17
5627534401
ref: 17
SPACER,BALANCER
€ 3.00
18
5650020C41
ref: 18
56500-20C42
MIRROR ASSEMBLY,REAR VIEW
€ 83.00
19
5660020C41
ref: 19
56600-20C42
MIRROR ASSEMBLY,REAR VIEW
€ 81.50
20
0713006703
ref: 20
07130-0670B
BOLT
€ 4.50
21
0918006255
ref: 21
SPACER(6.5X9X3.8)
€ 2.00
22
5820020C00
ref: 22
CABLE ASSY,CLUTCH
€ 36.00
23
5830020C00
ref: 23
CABLE ASSY,THROTTLE
€ 30.50
24
5841020C02
ref: 24
CABLE,STARTER
€ 34.50
up
all assemblies
AIR CLEANER
ALTERNATOR
BATTERY
CAM CHAIN
CAM SHAFT - VALVE
CANISTER (E33)
CARBURETOR
CARBURETOR FITTINGS
CLUTCH
COOLING FAN (E33)
COWLING BODY
CRANKCASE
CRANKCASE COVER
CRANKSHAFT
CYLINDER
CYLINDER HEAD
CYLINDER HEAD COVER
ELECTRICAL
FOOTREST
FRAME
FRAME COVER
FRONT BRAKE HOSE
FRONT CALIPER
FRONT DAMPER
FRONT FENDER
FRONT MASTER CYLINDER
FRONT WHEEL
FUEL COCK
FUEL TANK
GEAR SHIFTING
HANDLE LEVER
HANDLE SWITCH
HANDLEBAR
HEADLAMP
INSTALLATION PARTS
MUFFLER
OIL COOLER
OIL PAN
OIL PUMP
REAR CALIPER
REAR COMBINATION LAMP
REAR CUSHION LEVER
REAR FENDER
REAR MASTER CYLINDER
REAR SWINGING ARM
REAR WHEEL
SEAT
SECOND AIR (E33)
SIGNAL GENERATOR
SPEEDOMETER
STAND
STARTER CLUTCH
STARTING MOTOR
STEERING STEM
TAIL LAMP BAR
TRANSMISSION
TURNSIGNAL LAMP
WARNING LABEL
WIRING HARNESS
up