×
Buy Suzuki DR Parts Online
home
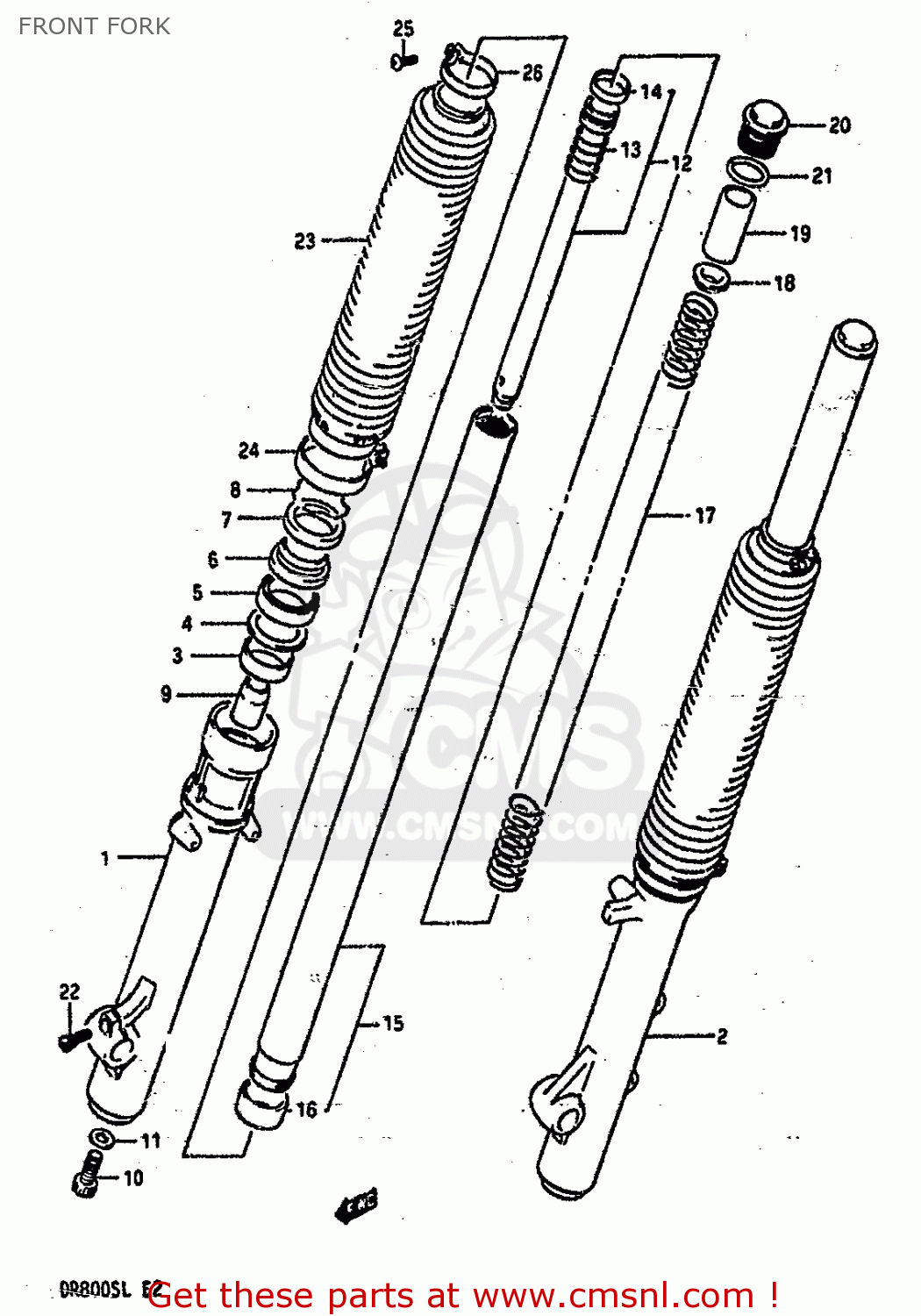
FRONT FORK
DR800SU 1990 (L) GERMANY (E22)
Front fork diagram DR800SU 1990 (L) GERMANY (E22)
FRONT FORK DR800SU 1990 (L) GERMANY (E22)
×
prices are in EUR
ref
part #
description
quantity
0
5110344B01
ref: 0
DAMPER ASSY,RH
€ 665.00
0
5110444B01
ref: 0
DAMPER ASSY,LH
€ 665.00
1
5113044B00
ref: 1
TUBE,OUTER RH
€ 291.50
2
5114044B00
ref: 2
TUBE,OUTER LH
€ 322.00
3
5116728C00
ref: 3
METAL,SLIDE
€ 22.00
4
5115805A00
ref: 4
WASHER,FORK OIL SEAL
€ 5.50
5
5115344B00
ref: 5
SEAL,OIL
€ 19.00
6
5117344B00
ref: 6
SEAL,DUST
€ 14.50
7
5115844B00
ref: 7
WASHER
€ 6.00
8
5115649440
ref: 8
RING,OIL SEAL STOPPER
€ 6.50
9
5119544B01
ref: 9
PIECE,OIL LOCK
€ 8.00
10
5114740300
ref: 10
BOLT,CYLINDER
€ 6.00
11
5114840300
ref: 11
GASKET,CYLINDER (NAS)
€ 3.00
12
5114644B01
ref: 12
CYLINDER
€ 22.00
13
5117714A00
ref: 13
SPRING,REBOUND
€ 0.00
14
5119614A00
ref: 14
RING,FRONT FORK PISTON
€ 6.50
15
5112044B01
ref: 15
TUBE,INNER
€ 106.50
16
5112128C00
ref: 16
PISTON
€ 25.00
17
5117144B00
ref: 17
SPRING
€ 47.00
18
5117224A00
ref: 18
GUIDE,SPRING
€ 3.50
19
5117644B01
ref: 19
SPACER
€ 5.50
20
5135144B00
ref: 20
BOLT,FORK
€ 35.50
21
5111740300
ref: 21
O RING
€ 2.50
22
5113844B00
ref: 22
BOLT,SOCKET HEAD(8X22)
€ 4.00
23-1
5157144B0028V
ref: 23-1
BOOT
€ 62.00
23-2
5157144B0038K
ref: 23-2
BOOT (BLUE)
€ 66.00
24
5157600B00
ref: 24
BAND,BOOT LWR
€ 6.50
25
0211204208
ref: 25
SCREW
€ 1.00
26
5157544B00
ref: 26
BAND,BOOT
€ 9.00
up
all assemblies
* COLOR CHART *
* CATALOG PREFACE *
* CONVERSION CHART *
CYLINDER HEAD
CYLINDER
CRANKCASE
CRANKCASE COVER
CRANKSHAFT
STARTER CLUTCH
CRANK BALANCER
BALANCER CHAIN
CAM SHAFT-VALVE
CAM CHAIN
CARBURETOR
AIR CLEANER
MUFFLER
OIL PUMP-FUEL PUMP
OIL COOLER
CLUTCH
TRANSMISSION
GEAR SHIFTING
STARTING MOTOR
MAGNETO
BATTERY
ELECTRICAL
SPEEDOMETER
HEADLAMP
TURN SIGNAL LAMP
REAR COMBINATION LAMP
WIRING HARNESS
FRAME
STAND-REAR BRAKE
FOOTREST
FUEL TANK
FUEL COCK
SEAT
FRAME COVER
FRONT FORK
STEERING STEM
FRONT FORK COVER
HEADLAMP HOUSING-FRONT FENDER
FRONT WHEEL
HANDLEBAR
RIGHT HANDLE SWITCH
LEFT HANDLE SWITCH
FRONT CALIPER
FRONT BRAKE HOSE
FRONT MASTER CYLINDER
REAR SWINGING ARM
REAR CUSHION LEVER
REAR FENDER
REAR WHEEL
REAR CALIPER
REAR MASTER CYLINDER
COWLING
OPTIONAL
up