Buy Suzuki GSXR Parts Online

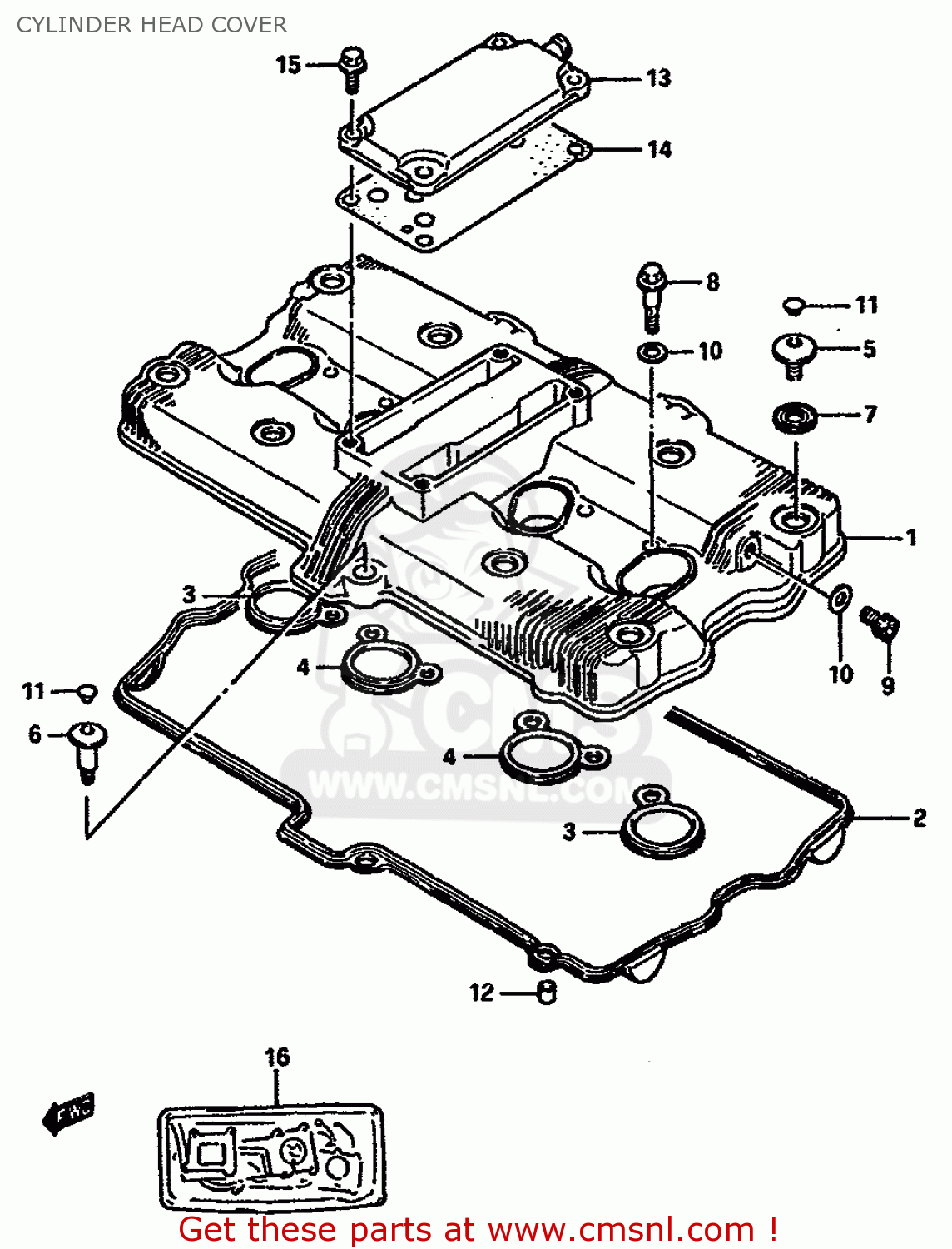
CYLINDER HEAD COVER

GSXR750X 1986 (G) (E01 E02 E04 15 16 17 18 21 22 24 25 34 39 53)

Cylinder head cover diagram GSXR750X 1986 (G) (E01 E02 E04 15 16 17 18 21 22 24 25 34 39 53)

CYLINDER HEAD COVER GSXR750X 1986 (G) (E01 E02 E04 15 16 17 18 21 22 24 25 34 39 53)
CYLINDER HEAD COVER GSXR750X 1986 (G) (E01 E02 E04 15 16 17 18 21 22 24 25 34 39 53)
CYLINDER HEAD COVER GSXR750X 1986 (G) (E01 E02 E04 15 16 17 18 21 22 24 25 34 39 53)
prices are in EUR
ref
part #
description
quantity
1
1117127A04
ref: 1

FROM 11171-27A03
COVER,CYLINDER HEAD
€ 448.50

2
1117327A01
ref: 2
GASKET,CYLINDER HEAD COVER (NAS)
1117327A01
€ 34.00

3
1117827A00
ref: 3
GASKET (NAS)
1117827A00
€ 5.50

4
1117927A01
ref: 4
GASKET,HEAD COVER NO.3 (NAS)
1117927A01
€ 7.50

5
0910607009
ref: 5
BOLT(7X17.5)
0910607009
€ 5.00

6
0910607010
ref: 6
BOLT(7X31)
0910607010
€ 5.50

7
0916111006
ref: 7
WASHER
0916111006
€ 4.50

8
0936008009
ref: 8
BOLT,UNION 8X35
0936008009
€ 26.50

9
0711008125
ref: 9
PLUG, HEAD COVER
€ 3.00

10
0916808008
ref: 10
GASKET 8.2X14X1 (NAS)
0916808008
€ 1.00

11
0925006008
ref: 11
CAP(OD:10)
0925006008
€ 3.50

12
0422108129
ref: 12
PIN
0422108129
€ 2.00

13
1117627A00
ref: 13
COVER,BREATHER
€ 31.50

14
1117727A00
ref: 14
GASKET (NAS)
1117727A00
€ 12.00

15
0151706205
ref: 15
BOLT
€ 2.50

16
1140027855
ref: 16

OPT,FROM 11400-27853
GASKET SET (MCA)
1140027855
€ 283.00