prices are in EUR
ref
part #
description
quantity
 
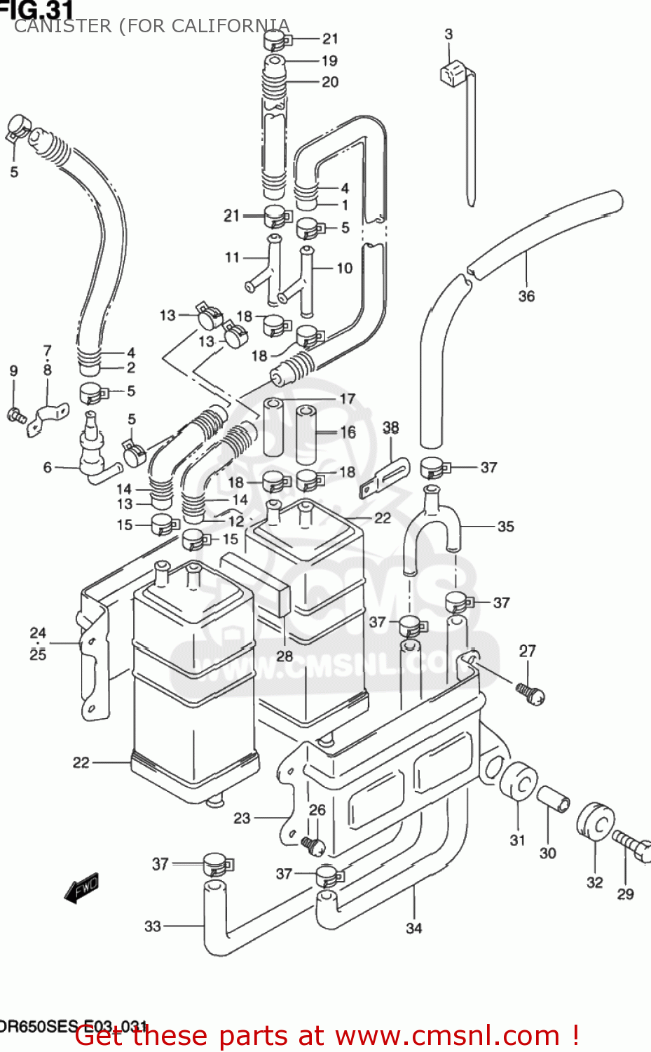
3
SPRING
 
 
 
4
CLIP
 
 
 
5
VALVE,FUEL TANK BREATHER
 
 
 
6
PLATE COMP,ROLL OVER VALVE
 
7
CUSHION
 
 
 
8
PLATE,FUEL TANK BREATHER NO.2
 
9
CUSHION
 
 
 
11
BOLT
 
 
 
16
CANISTER ASSEMBLY,CHARCOAL
 
17
PLATE,CANISTER FITTING
 
18
HOSE(L:350)
 
 
 
19
CLIP
 
 
 
20
BOLT
 
 
 
27
CLAMP(L:125)
