Buy Suzuki GSXR Parts Online

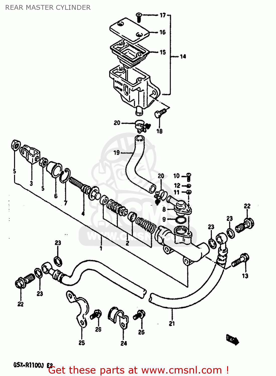
REAR MASTER CYLINDER

GSXR1100 1986 (G) (E01 E02 4 6 15 16 17 18 21 22 24 25 34 39 53)

Rear master cylinder diagram GSXR1100 1986 (G) (E01 E02 4 6 15 16 17 18 21 22 24 25 34 39 53)

REAR MASTER CYLINDER GSXR1100 1986 (G) (E01 E02 4 6 15 16 17 18 21 22 24 25 34 39 53)
REAR MASTER CYLINDER GSXR1100 1986 (G) (E01 E02 4 6 15 16 17 18 21 22 24 25 34 39 53)
REAR MASTER CYLINDER GSXR1100 1986 (G) (E01 E02 4 6 15 16 17 18 21 22 24 25 34 39 53)
prices are in EUR
ref
part #
description
quantity
1
6960027A00
ref: 1
CYLINDER ASSEMBLY,REAR MASTER
6960027A00
€ 178.00

2
6960016820
ref: 2
PISTON/CUP SET
6960016820
€ 46.50

3
6969219A00
ref: 3
YOKE
6969219A00
€ 11.50

4
6967027A00
ref: 4
ROD,PUSH
€ 14.50

5
6969305A00
ref: 5
NUT
6969305A00
€ 2.00

6
6969100A00
ref: 6
BOOT
6969100A00
€ 4.00

7
5116270040
ref: 7
CIRCLIP
5116270040
€ 3.50

8
6967205A00
ref: 8
CONNECTOR
6967205A00
€ 6.00

9
6968634200
ref: 9
O RING
6968634200
€ 4.00

10
0211204124
ref: 10
SCREW
€ 1.50

11
0832221045
ref: 11
WASHER
€ 0.50

12
0832121045
ref: 12
LOCK WASHER
€ 2.50

13
0910606056
ref: 13
BOLT 6X23
€ 0.00

14
6974027A31
ref: 14
TANK ASSEMBLY,RESERVOIR
6974027A31
€ 63.50

15
5966704700
ref: 15
DIAPHRAGM
5966704700
€ 8.00

16
5966904710
ref: 16
CAP
5966904710
€ 13.00

17
6968904A00
ref: 17
SCREW
6968904A00
€ 2.00

18
0110706127
ref: 18
BOLT
0110706127
€ 2.50

19
6973127A00
ref: 19
HOSE,RESERVOIR TANK
6973127A00
€ 12.00

20
0940016302
ref: 20
CLAMP
0940016302
€ 4.50

21
6948006B00
ref: 21
HOSE,REAR BRAKE
€ 104.50

22
0936010017
ref: 22
BOLT UNION
0936010017
€ 7.50

23
0916110009
ref: 23
WASHER(10X15X1.5)
0916110009
€ 2.00

24
6119606B01
ref: 24

MODEL G/H
CLAMP,REAR BRAKE HOSE NO
€ 3.00

25
6119806B00
ref: 25

MODEL G
CLAMP,REAR BRAKE HOSE
€ 0.00

26
0151705128
ref: 26

MODEL G/H
BOLT
€ 2.50