Buy Suzuki XF Parts Online

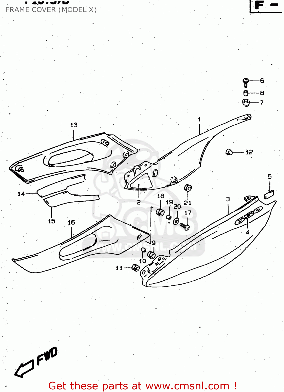
FRAME COVER (MODEL X)

XF650 1998 (W) (E02 E04 E17 E18 E22 E24 E25 E34) / P9

Frame cover (model x) diagram XF650 1998 (W) (E02 E04 E17 E18 E22 E24 E25 E34) / P9

FRAME COVER (MODEL X) XF650 1998 (W) (E02 E04 E17 E18 E22 E24 E25 E34) / P9
FRAME COVER (MODEL X) XF650 1998 (W) (E02 E04 E17 E18 E22 E24 E25 E34) / P9
FRAME COVER (MODEL X) XF650 1998 (W) (E02 E04 E17 E18 E22 E24 E25 E34) / P9
prices are in EUR
ref
part #
description
quantity
1
4711104F0133J
ref: 1
COVER, FRAME RH (BLACK)
€ 143.00

1
4711104F01Y0W
ref: 1
COVER, FRAME RH (ORANGE)
€ 135.50

1
4711104F01Y7H
ref: 1
COVER, FRAME RH (BLUE)
€ 143.50

2
4716804F00
ref: 2
SHIELD,FRAME COVER,R
4716804F00
€ 11.50

3
4721104F0133J
ref: 3
COVER,FRAME,L(BLACK)
4721104F0133J
€ 138.50

3
4721104F01Y0W
ref: 3
COVER,FRAME,L(ORANGE)
€ 146.00

3
4721104F01Y7H
ref: 3
COVER,FRAME,L(BLUE)
4721104F01Y7H
€ 146.00

4
6813104F10M2R
ref: 4

FOR 33J
EMBLEM,FRAME COVER
6813104F10M2R
€ 11.00

4
6813104F10G8V
ref: 4

FOR Y0W
EMBLEM,FRAME COVER
6813104F10G8V
€ 10.50

4
6813104F10M2S
ref: 4

FOR Y7H
EMBLEM,FRAME COVER
€ 11.00

5
5314548B00
ref: 5
CUSHION,FR FENDER
5314548B00
€ 2.00

6
0913606105
ref: 6
SCREW(6X20)
0913606105
€ 2.50

7
0932010045
ref: 7
CUSHION
0932010045
€ 4.50

8
0918006286
ref: 8
SPACER(6.5X10X9.4)
0918006286
€ 3.00

9
0932009016
ref: 9
CUSHION
0932009016
€ 2.50

10
0918006263
ref: 10
SPACER(6.5X9X9)
0918006263
€ 2.00

11
0932008018
ref: 11
CUSHION
0932008018
€ 4.00

12
0932110018
ref: 12
CUSHION
0932110018
€ 5.50

13
4751104F00291
ref: 13
COVER,FRAME FR,R
4751104F00291
€ 82.50

14
4716604F00
ref: 14
SHIELD, FRONT RH UPPER
€ 26.50

15
4716704F00
ref: 15
SHIELD, FRONT RH LOWER
€ 23.50

16
4761104F00291
ref: 16
COVER,FRAME FR,L
€ 82.50

17
0913906042
ref: 17
SCREW(6X30)
0913906042
€ 8.00

18
0932009016
ref: 18
CUSHION
0932009016
€ 2.50

19
0918006263
ref: 19
SPACER(6.5X9X9)
0918006263
€ 2.00

20
0916006084
ref: 20
WASHER(6.5X18X1.6)
0916006084
€ 2.00

21
0932008028
ref: 21
CUSHION
0932008028
€ 3.00